077 (190-077-100) - Cub Cadet Grass Catcher (1988) Grass Catcher Parts Diagram

Grass Catcher

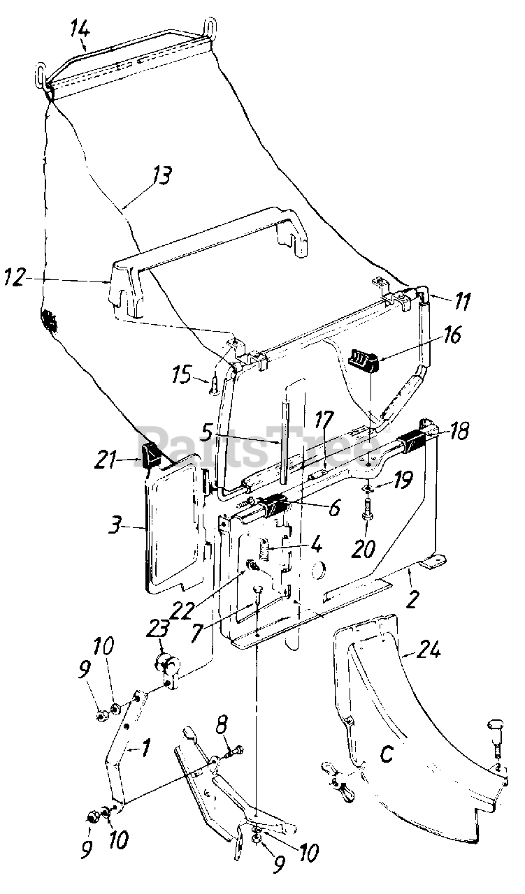
Grass Catcher Parts Diagram

  • Title
1

Cub Cadet 16129

Panel Support Brkt.
(Superseded to 16129A-0637)

$11.99

$

Usually ships in 3-6 days

0

2

Cub Cadet 17196

Top Catcher Panel Ass'y.

$

$

Not available

3

Cub Cadet 17095

Top Discharge Door

$

$

Not available

4

Cub Cadet 732-0483

Torsion Spring
(Superseded to 732-0483A)

$10.99

$

Usually ships in 3-6 days

0

5

Cub Cadet 747-0514

Pivot Pin

$

$

Not available

6

Cub Cadet 710-0255

Truss Mach. Scr. 1/4-20 x .75" Lg.
(Superseded to 710-0924)

$4.99

$

In Stock, Qty 20+

0

7

Cub Cadet 710-0289

Hex Bolt 1/4-20 x .50" Lg.
(Superseded to 910-0289)

$3.99

$

In Stock, only 3 left!

0

8

Cub Cadet 710-0258

Hex Bolt 1/4-20 x .62" Lg.
(Superseded to 710-0751)

$4.49

$

In Stock, Qty 20+

0

9

Cub Cadet 712-0287

Hex Nut 1/4-20 Thd.
(Superseded to 912-0287)

$4.99

$

Usually ships in 3-6 days

0

10

Cub Cadet 736-0329

L-Wash. 1/4" I.D.
(Superseded to 936-0329)

$4.99

$

In Stock, Qty 12

0

11

Cub Cadet 16702

Front Grass Catcher Frame

$

$

Not available

12

Cub Cadet 731-0801

Grass Catcher Handle

$

$

Not available

13

Cub Cadet 764-0212

Grass Bag

$

$

Currently unavailable

14

Cub Cadet 747-0495

Upper Bag Handle

$

$

Not available

15

Cub Cadet 710-0969

Hex AB-Tap Scr. #12 x 1.0"

$4.99

$

In Stock, only 1 left!

0

16

Cub Cadet 720-0224

Grass Catcher Locking Knob
(Superseded to 920-0224)

$

$

Not available

17

Cub Cadet 722-0134

Foam Strip 1" Lg.

$

$

Currently unavailable

18

Cub Cadet 731-0883

Panel Clip

$

$

Not available

19

Cub Cadet 736-0271

Spring Wash. .32" I.D.
(Superseded to 936-0271)

$4.99

$

In Stock, only 2 left!

0

20

Cub Cadet 710-0258

Hex Bolt 1/4-20 x .62" Lg.
(Superseded to 710-0751)

$4.49

$

In Stock, Qty 20+

0

21

Cub Cadet 720-0190

Door Grip
(Superseded to 731-13116-1)

$14.99

$

Usually ships in 3-6 days

0

22

Cub Cadet 710-0429

Hex B-Tap Scr. #10 x .38"
(Superseded to 910-0429)

$3.99

$

Usually ships in 3-6 days

0

23

Cub Cadet 719-0279

Rope Guide

$16.99

$

Usually ships in 3-6 days

0

24

Cub Cadet 731-0733

Top Discharge Chute Ass'y.

$

$

Not available