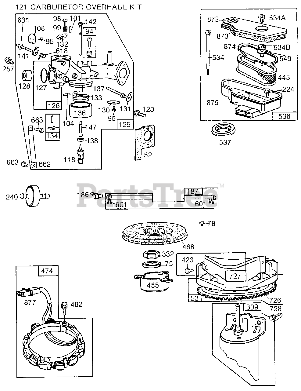
1106 (137-519-100) - Cub Cadet Rear-Engine Riding Mower Engine (1987) IC B&S 11.0 HP-253707-0247-01-Carburetor Parts Diagram

Rear-Engine Riding Mower Engine

IC B&S 11.0 HP-253707-0247-01-Carburetor Parts Diagram

  • Title
23

Cub Cadet BS-391988

Flywheel and Ring Gear Assembly-Magneto

$

$

Not available

52

Cub Cadet BS-270872

Gasket-Carburetor Mounting
(Superseded to BS-272554S)

Note: (Included in Gasket Set-Part No.393411)

$5.99

$

In Stock, Qty 20+

0

75

Cub Cadet BS-220865

Washer-Spring

$

$

Currently unavailable

78

Cub Cadet BS-93805

Screw-Sem
(Superseded to BS-691655)

$4.49

$

Usually ships in 2-12 days

0

94

Cub Cadet BS-292681

Valve Assembly-Carburetor Idle

Note: (Included in Carburetor Overhaul Kit-See Ref. 121)

$12.99

$

In Stock, Qty 7

0

95

Cub Cadet BS-93499

Screw-Throttle and Choke Valve Mounting Sem
(Superseded to BS-691437)

$3.99

$

In Stock, only 3 left!

0

98

Cub Cadet BS-91920

Screw-Machine, Fill. Hd. 8-32 x 5/8"

$

$

Currently unavailable

99

Cub Cadet BS-26157

Spring-Throttle Adjustment
(Superseded to BS-691591)

$

$

Not available

101

Cub Cadet BS-93043

Pin-Throttle Stop

$

$

Not available

104

Cub Cadet BS-230896

Pin-Float Hinge

Note: (Included in Carburetor Overhaul Kit-See Ref. 121)

$

$

Not available

108

Cub Cadet BS-222010

Valve Choke

$8.49

$

Usually ships in 2-12 days

0

118

Cub Cadet BS-396568

Valve-Needle

Note: (Included in Carburetor Overhaul Kit-See Ref. 121)

$22.99

$

In Stock, only 2 left!

0

121

Cub Cadet BS-394698

Carburetor Overhaul Kit

$30.99

$

In Stock, Qty 15

0

123

Cub Cadet BS-93357

Screw-Carburetor Mounting

$

$

Not available

125

Cub Cadet BS-396502

Carburetor Assembly (Remote & Manual Choke)

$

$

Not available

126

Cub Cadet BS-396574

Body Assembly-Carburetor

Note: (Two 271013 Foam Washers Included in All Ref. 126)

$

$

Currently unavailable

127

Cub Cadet BS-221997

Plug-Welch

Note: (Included in Carburetor Overhaul Kit-See Ref. 121)

$5.49

$

Usually ships in 2-12 days

0

128

Cub Cadet BS-211960

Venturi-Carburetor

$

$

Currently unavailable

130

Cub Cadet BS-222858

Valve-Throttle

$

$

Not available

131

Cub Cadet BS-391512

Shaft and Lever-Throttle
(Superseded to BS-491006)

$23.99

$

Usually ships in 2-12 days

0

132

Cub Cadet BS-211712

Stop-Throttle
(Superseded to BS-691708)

$9.49

$

In Stock, only 2 left!

0

133

Cub Cadet BS-299707

Float-Carburetor

$

$

Not available

134

Cub Cadet BS-394681

Valve-Fuel Inlet

Note: (Included in Carburetor Overhaul Kit-See Ref. 121)

$8.49

$

In Stock, Qty 20+

0

136

Cub Cadet BS-221995

Bowl-Float

$9.99

$

In Stock, Qty 9

0

137

Cub Cadet BS-270511

Gasket-Float Bowl

Note: (Included in Carburetor Overhaul Kit-See Ref. 121)

$3.49

$

In Stock, Qty 20+

0

138

Cub Cadet BS-222014

Washer-Float Bowl
(Superseded to BS-690618)

Note: (Included in Carburetor Overhaul Kit-See Ref. 121)

$5.99

$

In Stock, only 3 left!

0

141

Cub Cadet BS-299647

Shaft and Lever-Choke

$18.99

$

Usually ships in 2-12 days

0

142

Cub Cadet BS-299740

Nozzle-Carburetor

Note: (Included in Carburetor Overhaul Kit-See Ref. 121)

$16.99

$

Usually ships in 2-12 days

0

147

Cub Cadet BS-231323

Screw-Nozzle

Note: (Included in Carburetor Overhaul Kit-See Ref. 121)

$26.99

$

Usually ships in 2-12 days

0

186

Cub Cadet BS-67218

Connector-Fuel Pipe

$

$

Not available

187

Cub Cadet BS-394045

Line-Fuel (10" Long)-(Cut to Suit)

$

$

Not available

224

Cub Cadet BS-94018

Screw-Sem
(Superseded to BS-690859)

$4.49

$

In Stock, Qty 6

0

240

Cub Cadet BS-298090

Filter-Fuel (In Fuel Line)
(Superseded to BS-298090S)

$5.49

$

In Stock, Qty 20+

0

257

Cub Cadet BS-93543

Screw-Control Casing to Screw

$

$

Not available

309

Motor-Starting (12 Volt)

$

$

Not available

332

Cub Cadet BS-92284

Nut-Hex
(Superseded to 712-3056)

$5.49

$

In Stock, Qty 6

0

423

Cub Cadet BS-93984

Screw-Sem

$

$

Currently unavailable

445

Cub Cadet BS-393725

Cartridge-Air Cleaner

$23.99

$

In Stock, only 3 left!

0

455

Cub Cadet BS-22561

Cup-Screen Mounting

$

$

Currently unavailable

468

Cub Cadet BS-222562

Screen-Flush Rotating
(Superseded to BS-691748)

$255.99

$

In Stock, only 1 left!

0

474

Cub Cadet BS-393474

Stator-Alternator (Dual Circuit)
(Superseded to BS-592831)

$101.99

$

Usually ships in 2-12 days

0

482

Cub Cadet BS-93621

Screw-Sem
(Superseded to BS-691183)

$

$

Not available

534

Cub Cadet BS-93911

Screw-Air Cleaner

$

$

Currently unavailable

534A

Cub Cadet BS-93913

Screw-Air Cleaner

$4.49

$

In Stock, only 1 left!

0

534B

Cub Cadet BS-93910

Screw-Air Cleaner

$14.99

$

Usually ships in 2-12 days

0

536

Cub Cadet BS-393749

Cleaner-Air

$

$

Currently unavailable

537

Cub Cadet BS-270853

Gasket-Air Cleaner

$9.99

$

In Stock, only 2 left!

0

549

Cub Cadet BS-270978

Washer-Air Cleaner

$5.49

$

In Stock, only 1 left!

0

601

Cub Cadet BS-93053

Clamp-Fuel Pipe
(Superseded to BS-791850)

$3.49

$

In Stock, Qty 20+

0

618

UNKNOWN

$

$

Not available

634

UNKNOWN

$

$

Not available

662

Cub Cadet BS-222311

Bracket-Carburetor

$

$

Not available

663

Cub Cadet BS-93572

Screw
(Superseded to 710-0432)

$

$

Not available

726

Cub Cadet BS-392134

Gear-Ring (Includes Mounting Parts)
(Superseded to BS-696537)

$55.99

$

In Stock, Qty 9

0

727

Cub Cadet BS-395405

Cover-Starter (Includes Mounting Screws)

$

$

Not available

728

Cub Cadet BS-93535

Screw-Sem

$

$

Not available

872

Cub Cadet BS-396966

Cover Group-Air Cleaner (Includes Gasket)

$

$

Currently unavailable

873

Cub Cadet BS-397971

Gasket-Air Cleaner Cover

$39.99

$

Usually ships in 2-12 days

0

874

Cub Cadet BS-222898

Plate-Air Cleaner Cartridge

$24.99

$

Usually ships in 2-12 days

0

875

Cub Cadet BS-397321

Body-Air Cleaner

$49.99

$

In Stock, only 1 left!

0

877

Cub Cadet BS-393456

Diode and Connector Assembly (Dual Circuit)

$20.99

$

In Stock, only 1 left!

0