129-474R000 - MTD Walk-Behind Mower (1989) Parts & Diagrams Parts Lists & Diagrams

Walk-Behind Mower

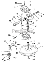
129-474R000 - MTD Walk-Behind Mower (1989) > Parts Diagrams (3)