13518-8 - MTD Lawn Tractor (1988) 32" Parts Diagram

Lawn Tractor

32" Parts Diagram

  • Title
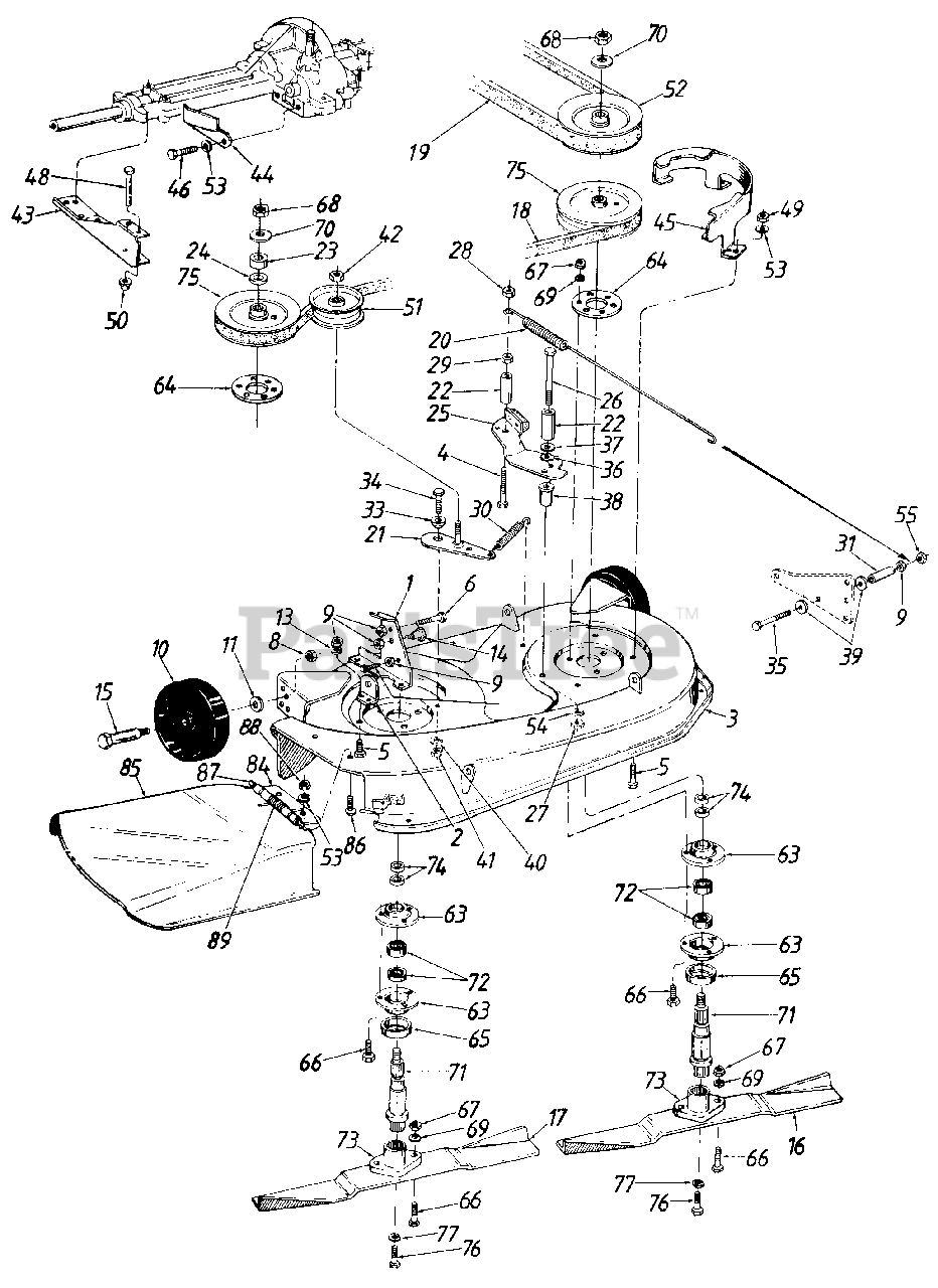
1

MTD 17094

Deck Disengagement Brkt.

$

$

Not available

2

MTD 17096

Rear Deck Brkt. R.H.

$

$

Currently unavailable

3

MTD 17102

32" Deck Ass'y.

$

$

Not available

MTD 17242

32" Deck Ass'y. Comp.

Note: (Service Only)

$

$

Currently unavailable

4

MTD 710-0559

Hex Bolt 1/4-28 x 1.75" Lg.

$

$

Not available

5

MTD 710-0285

Hex Bolt 1/4-20 x .62" Lg.

$

$

Currently unavailable

6

MTD 710-0778

Hex Wash. Hd. Scr. 1/4-20 x 1.5" Lg.

$4.49

$

In Stock, Qty 5

0

MTD 712-0107

Hex L-Nut 1/4-20 Thd.
(Superseded to 912-0107)

$4.99

$

Usually ships in 3-6 days

0

8

MTD 712-0181

Hex L-Nut 3/8-16 Thd.

$4.49

$

In Stock, only 3 left!

0

9

MTD 712-0287

Hex Nut 1/4-20 Thd.
(Superseded to 912-0287)

$4.99

$

Usually ships in 3-6 days

0

10

MTD 734-0973

Deck Wheel
(Superseded to 734-06265)

$13.99

$

In Stock, only 2 left!

0

11

MTD 736-0105

Bell-Wash. .380" I.D. x .88

$4.99

$

In Stock, Qty 20+

0

13

MTD 736-0329

L-Wash. 1/4" I.D.
(Superseded to 936-0329)

$4.99

$

In Stock, Qty 10

0

14

MTD 738-0183

Shld. Bolt .500" Dia. x .215"
(Superseded to 938-0183)

$

$

Not available

15

MTD 738-0373

Shld. Bolt .498" Dia. x 1.53"
(Superseded to 938-0373)

$9.99

$

In Stock, Qty 20+

0

16

MTD 742-0477

L.H. High-Lift Blade

$

$

Not available

17

MTD 742-0480

R.H. High-Lift Blade

$

$

Not available

18

MTD 754-0290

V-Belt
(Superseded to 954-0290)

$

$

Not available

19

MTD 754-0347

V-Belt
(Superseded to 954-0347)

$

$

Not available

20

MTD 732-0575

Extension Spring 15-5/8" Lg.

$

$

Not available

21

MTD 17241

Idler Brkt. Ass'y.

$

$

Not available

22

MTD 750-0470

Spacer 5/16" I.D. x 1/2" O.D. x 31/32"

$7.49

$

Usually ships in 3-6 days

0

23

MTD 711-0469

Spacer 3/4" I.D. x 1-1/4" O.D. X 1/2 "

$8.49

$

Usually ships in 3-6 days

0

24

MTD 748-0160

Spacer 3/4" I.D. x 1-1/4" O.D. x 3/16"
(Superseded to 948-0160)

$7.49

$

In Stock, Qty 8

0

25

MTD 17116

Deck Brake Brkt. Ass'y.
(Superseded to 97116)

$55.99

$

In Stock, only 2 left!

0

26

MTD 710-3056

Hex Bolt 5/16-18 x 3.25" Lg.

$10.99

$

In Stock, only 1 left!

0

27

MTD 712-0123

Hex Nut 5/16-24 Thd.
(Superseded to 912-3057)

$7.49

$

In Stock, Qty 6

0

28

MTD 712-0117

Hex L-Nut 1/4-28 Thd.
(Superseded to 912-0117)

$2.49

$

In Stock, only 2 left!

0

29

MTD 712-0138

Hex Nut 1/4-28 Thd.

$7.49

$

Usually ships in 3-6 days

0

30

MTD 732-0428

Extension Spring 4.35" Lg.
(Superseded to 732-0428B)

$12.99

$

In Stock, Qty 6

0

31

MTD 750-0583

Spacer 1/4" I.D. x 3/8" O.D. x 1-5/16"

$

$

Not available

33

MTD 738-0347

Shoulder Spacer
(Superseded to 938-0347)

$10.99

$

In Stock, Qty 20+

0

34

MTD 710-0253

Hex Bolt 3/8-16 x 1" Lg.
(Superseded to 710-0514)

$4.49

$

In Stock, Qty 20+

0

35

MTD 710-0102

Hex Bolt 1/4-20 x 2.5" Lg.
(Superseded to 710-1122)

$7.99

$

Usually ships in 3-6 days

0

36

MTD 736-0230

Wave Washer
(Superseded to 736-0232)

$4.99

$

In Stock, Qty 20+

0

37

MTD 748-0234

Shld. Spacer .27" Lg.

$4.99

$

In Stock, Qty 20+

0

38

MTD 750-0702

Spacer 1.46" Lg.

$

$

Not available

39

MTD 736-0176

Flat Wash. 1/4"

$4.99

$

In Stock, Qty 11

0

40

MTD 736-0169

L-Wash. 3/8" I.D.

$3.99

$

In Stock, Qty 8

0

41

MTD 712-3017

Hex Nut 3/8-16 Thd.

$4.49

$

In Stock, only 2 left!

0

42

MTD 712-0241

Hex L-Nut 3/8-24 Thd.

$4.99

$

In Stock, only 2 left!

0

43

MTD 15625

Lower Outside Belt Guard

$

$

Not available

44

MTD 17117

Lower Inside Belt Guard

$

$

Currently unavailable

45

MTD 17164

Belt Guard Deck R.H.

$

$

Not available

46

MTD 710-0258

Hex Bolt 1/4-20 X .62" Lg.
(Superseded to 710-0751)

$4.49

$

In Stock, Qty 20+

0

48

$

$

Not available

49

MTD 712-0287

Hex Nut 1/4-20 Thd.
(Superseded to 912-0287)

$4.99

$

Usually ships in 3-6 days

0

50

MTD 726-0106

Speed Nut 1/4" Rod

$4.49

$

Usually ships in 3-6 days

0

51

MTD 756-0515

Flat Idler Pulley

$

$

Not available

52

MTD 756-0517

5" Dia. Pulley

$

$

Not available

53

MTD 736-0329

L-Wash. 1/4" I.D.
(Superseded to 936-0329)

$4.99

$

In Stock, Qty 10

0

54

MTD 736-0242

Bell-Wash. 5/16" I.D.

$4.99

$

In Stock, Qty 20+

0

55

MTD 712-0291

Hex L-Nut 1/4-20 Thd.

$4.99

$

In Stock, only 3 left!

0

63

MTD 08253

Bearing Housing
(Superseded to 08253B)

$20.99

$

In Stock, only 2 left!

0

64

MTD 09164

Reinforcement Plate
(Superseded to 09164A-0637)

$35.99

$

In Stock, only 2 left!

0

65

MTD 13703

Bearing Shield

$

$

Not available

66

MTD 710-0888

Hex Bolt 5/16-24 x 1.0" Lg.

Note: (Special)

$4.49

$

In Stock, Qty 20+

0

67

MTD 712-0123

Hex Nut 5/16-24 Thd.
(Superseded to 912-3057)

$7.49

$

In Stock, Qty 6

0

68

MTD 712-0318

Hex Jam Nut 5/8-18 Thd.

$3.49

$

In Stock, Qty 8

0

69

MTD 736-0119

L-Wash. 5/16" I.D.
(Superseded to 936-0119)

$4.99

$

In Stock, Qty 20+

0

70

MTD 736-0317

Bell-Wash. 5/8" I.D.

$8.49

$

In Stock, Qty 7

0

71

MTD 738-0707

Blade Spindle
(Superseded to 938-0707A)

$45.99

$

Usually ships in 3-6 days

0

72

MTD 741-0919

Ball Bearing
(Superseded to 941-0919B)

$21.99

$

In Stock, Qty 20+

0

73

MTD 748-0300

Blade Adapter

$14.99

$

In Stock, Qty 16

0

74

MTD 750-0456

Spacer

$4.99

$

In Stock, Qty 20+

0

75

MTD 756-0516

5" Dia. Pulley

$

$

Not available

76

MTD 710-0152

Hex Bolt 3/8-24 x 1.0" Lg.
(Superseded to 710-1039)

$4.99

$

In Stock, Qty 14

0

77

MTD 736-0217

L-Wash. 3/8" I.D. H.D.

$4.49

$

In Stock, only 2 left!

0

84

MTD 16521

Chute Bracket

$

$

Not available

85

MTD 16566

Chute
(Superseded to 753-0567)

$

$

Not available

86

MTD 710-0255

Truss.-Mach. Scr. 1/4-20 x .75" Lg.
(Superseded to 710-0924)

$4.99

$

In Stock, Qty 20+

0

87

MTD 711-0792

Hinge Pin
(Superseded to 911-0792)

$4.99

$

In Stock, Qty 11

0

88

MTD 712-0287

Hex Nut 1/4-20 Thd.
(Superseded to 912-0287)

$4.99

$

Usually ships in 3-6 days

0

89

MTD 732-0542

Torsion Spring 1.14" Lg.
(Superseded to 932-0542)

$

$

Not available