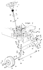
13655-8 - MTD Lawn Tractor (1988) Parts & Diagrams Parts Lists & Diagrams

Lawn Tractor

13655-8 - MTD Lawn Tractor (1988) > Parts Diagrams (8)