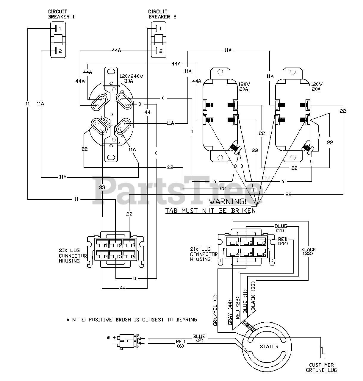
1642-2 - PowerBoss 5,500 Watt Portable Generator Wiring Diagram Parts Diagram

5,500 Watt Portable Generator

Wiring Diagram Parts Diagram

  • Title