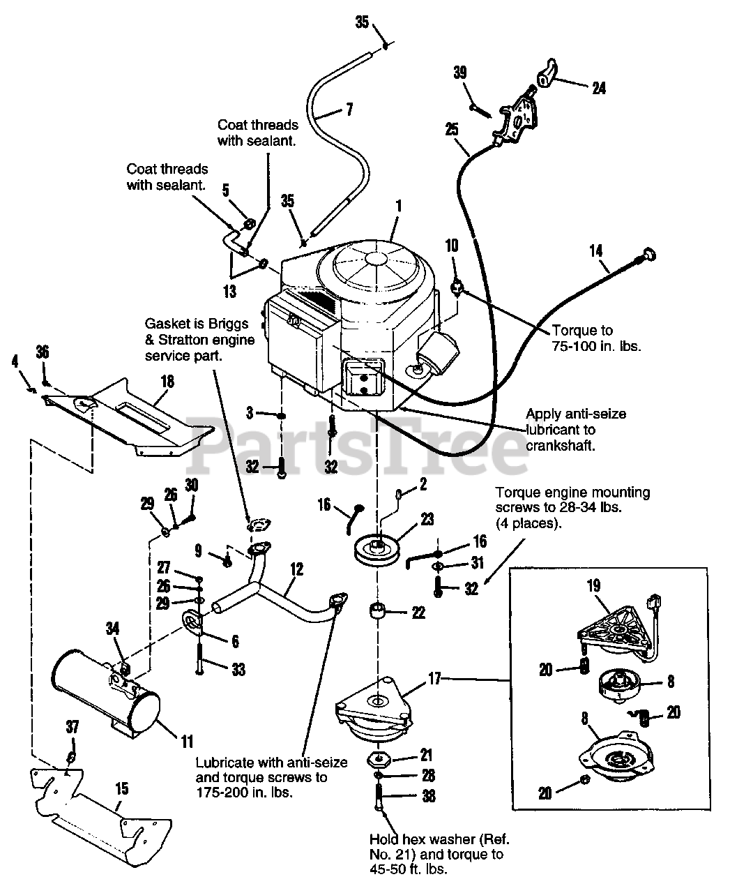
1692571 - Simplicity Landlord 44" Garden Tractor, 16hp Engine Group - Electric Clutch - 16 & 18HP Briggs & Stratton Parts Diagram

Landlord 44" Garden Tractor, 16hp

Engine Group - Electric Clutch - 16 & 18HP Briggs & Stratton Parts Diagram

  • Title
1

ENGINE 16 HP Briggs & Stratton, Vanguard Model 303777, 18 HP Briggs & Stratton, Vanguard Model 350777

$

$

Not available

2

Simplicity 2171241SM

KEY, Hi-Pro

$6.49

$

In Stock, only 1 left!

0

3

Simplicity 2820427SM

LOCKWASHER, External Tooth
(Superseded to 703864)

$4.49

$

Usually ships in 2-12 days

0

4

Simplicity 2834683SM

CLIP
(Superseded to 2172434SM)

$4.99

$

In Stock, only 2 left!

0

$7.99

$

Usually ships in 2-12 days

0

6

Simplicity 1676183SM

CLAMP, Muffler

$

$

Not available

7

Simplicity 1718678SM

HOSE, Fuel, 45.5" Long

$

$

Not available

8

Simplicity 1706692SM

ROTOR ASSY./ARMATURE KIT

$788.99

$

Usually ships in 2-12 days

0

9

Simplicity 1960407SM

SCREW, Metric

$5.99

$

In Stock, only 4 left!

0

10

Simplicity 1703956SM

SWITCH, Oil Pressure
(Superseded to 690233)

$30.99

$

In Stock, Qty 8

0

11

Simplicity 1703971SM

MUFFLER ASSY.

$297.99

$

Usually ships in 2-12 days

0

12

Simplicity 1703986SM

MANIFOLD, Exhaust

$268.99

$

Usually ships in 2-12 days

0

13

$

$

Not available

14

Simplicity 1704344SM

CABLE, Choke Control

$52.99

$

Usually ships in 2-12 days

0

15

Simplicity 1704357SM

DUCT, Lower Muffler
(Superseded to 1704357ASM)

$179.99

$

Usually ships in 2-12 days

0

16

$7.49

$

In Stock, only 3 left!

0

17

Simplicity 1706692SM

ELECTRIC CLUTCH (Incl. Ref. Nos. 8, 19 & 20)

$788.99

$

Usually ships in 2-12 days

0

18

Simplicity 1707334SM

DUCT, Upper Muffler

$

$

Not available

19

Simplicity 1707586SM

FIELD ASSY., Clutch

$336.99

$

Usually ships in 2-12 days

0

20

Simplicity 1707587SM

SPRING & NUT KIT

$9.99

$

Usually ships in 2-12 days

0

$8.99

$

In Stock, only 4 left!

0

$

$

Not available

23

Simplicity 1713187SM

PULLEY ASSY.

$133.99

$

Usually ships in 2-12 days

0

24

Simplicity 1713846SM

KNOB, Throttle

$16.99

$

In Stock, only 4 left!

0

25

Simplicity 1714068SM

THROTTLE & CABLE ASSY.

$75.99

$

In Stock, only 2 left!

0

26

Simplicity 1917356SM

LOCKWASHER, 5/16
(Superseded to 5025170SM)

$4.49

$

In Stock, Qty 6

0

27

Simplicity 1917372SM

NUT, Hex, Full, 5/16-18
(Superseded to 7091511SM)

$3.49

$

In Stock, Qty 14

0

28

Simplicity 1918199SM

LOCKWASHER, 7/16
(Superseded to 704007)

$4.49

$

In Stock, Qty 20+

0

29

Simplicity 1919326SM

WASHER, Plain, 11/32

$4.49

$

Usually ships in 2-12 days

0

30

Simplicity 1921333SM

CAPSCREW, Hex Hd., 5/16-18 x 1
(Superseded to 5025011X8FS)

$3.99

$

In Stock, Qty 20+

0

31

Simplicity 1924940SM

WASHER, Plain, 13/32
(Superseded to 703878)

$3.99

$

In Stock, Qty 20+

0

32

Simplicity 1930598SM

SCREW, Taptite, 3/8-16 x 1-1/2
(Superseded to 704010)

$4.99

$

In Stock, only 2 left!

0

33

Simplicity 1931342SM

CARRIAGE BOLT, 5/16-18 x 2-3/4
(Superseded to 703857)

$6.99

$

Usually ships in 2-12 days

0

34

Simplicity 1935255SM

NUT, Pal, 5/16-18

$3.49

$

In Stock, only 1 left!

0

35

Simplicity 2860112SM

CLAMP, Hose

$3.99

$

In Stock, only 1 left!

0

36

Simplicity 1960295SM

SCREW, Flange Whiz, 1/4-20 x 5/8

$4.49

$

In Stock, only 2 left!

0

37

Simplicity 1960368SM

NUT, Pal, 1/4-20
(Superseded to 705876)

$4.49

$

In Stock, Qty 13

0

38

Simplicity 1960458SM

CAPSCREW, 7/16-20 x 4

$5.49

$

Usually ships in 2-12 days

0

39

Simplicity 1960536SM

SCREW, Plastite, 1/4-10 x 1/2

$4.99

$

Usually ships in 2-12 days

0