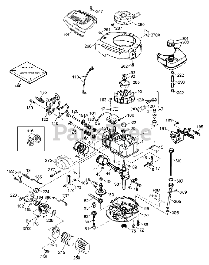
20008 - Toro 22" Recycler Walk-Behind Mower (SN: 240000001 - 240999999) (2004) Engine Assembly Tecumseh Lv195ea-362003b Parts Diagram

22" Recycler Walk-Behind Mower

Engine Assembly Tecumseh Lv195ea-362003b Parts Diagram

  • Title
1

Toro 37465

Cylinder ASM

Note: Obtain parts from www.tecumsehpower.com

$

$

Currently unavailable

2

Toro 26727

Pin-Dowel

Note: Obtain parts from www.tecumsehpower.com

$

$

Currently unavailable

6

Toro 33734

Element-Breather

Note: Obtain parts from www.tecumsehpower.com

$

$

Currently unavailable

7

Toro 36557

Breather ASM (Incl. Ref. #6 and 12A)

Note: Obtain parts from www.tecumsehpower.com

$

$

Currently unavailable

12

Toro 36775

Tube-Breather

Note: Obtain parts from www.tecumsehpower.com

$

$

Currently unavailable

12A

Toro 36558

Breather Cover and Tube (Incl. Ref. #12B)

Note: Obtain parts from www.tecumsehpower.com

$

$

Currently unavailable

12B

Toro 36694

Elbow-Tube, Breather
(Superseded to 704856)

Note: Obtain parts from www.tecumsehpower.com

$

$

Not available

14

Toro 28277

Washer-Flat

Note: Obtain parts from www.tecumsehpower.com

$

$

Currently unavailable

15

Toro 30589

Rod, Governor (Incl. No. 36)

Note: Obtain parts from www.tecumsehpower.com

$

$

Currently unavailable

16

Toro 34839A

Lever-Governor

Note: Obtain parts from www.tecumsehpower.com

$

$

Currently unavailable

17

Toro 31335

Clamp-Lever, Governor

Note: Obtain parts from www.tecumsehpower.com

$

$

Currently unavailable

18

Toro 651018

Screw (T-15, 8-32 x 19/64)

Note: Obtain parts from www.tecumsehpower.com

$

$

Currently unavailable

19

Toro 36281

Spring-Extension
(Superseded to 700777)

Note: Obtain parts from www.tecumsehpower.com

$

$

Not available

20

Toro 32600

Seal-Oil

Note: Obtain parts from www.tecumsehpower.com

$

$

Currently unavailable

30

Toro 37692

Crankshaft

Note: Obtain parts from www.tecumsehpower.com

$

$

Currently unavailable

40

Toro 40027

Piston, Pin and Ring Set (Std.)

Note: Obtain parts from www.tecumsehpower.com

$

$

Currently unavailable

41

Toro 40042

Piston and Pin ASM (Std.) (Incl. Ref. # 43)

Note: Obtain parts from www.tecumsehpower.com

$

$

Currently unavailable

42

Toro 40006

FITTING - TANK 3/4"

Note: Obtain parts from www.tecumsehpower.com

$

$

Not available

43

Toro 20381

Ring-Retaining, Piston Pin

Note: Obtain parts from www.tecumsehpower.com

$

$

Currently unavailable

45

Toro 36777

Connecting Rod ASM (Incl. Ref. #46)

Note: Obtain parts from www.tecumsehpower.com

$

$

Currently unavailable

46

Toro 32610A

Bolt-Rod, Connecting

Note: Obtain parts from www.tecumsehpower.com

$

$

Currently unavailable

48

Toro 27241

Lifter-Valve

Note: Obtain parts from www.tecumsehpower.com

$

$

Currently unavailable

50

Toro 37460

Camshaft (Exhaust MCR) (Incl. Ref. #104)

Note: Obtain parts from www.tecumsehpower.com

$

$

Currently unavailable

52

Toro 29914

Oil Pump ASM

Note: Obtain parts from www.tecumsehpower.com

$

$

Currently unavailable

*69

Toro 37609

Gasket-Flange, Mounting

Note: Obtain parts from www.tecumsehpower.com

$

$

Currently unavailable

70

Toro 37608

Flange-Mounting (Incl. Ref. #72-83,306,309A 311A)

Note: Obtain parts from www.tecumsehpower.com

$

$

Currently unavailable

72

Toro 37614

Plug-Drain, Oil
(Superseded to 700905)

Note: Obtain parts from www.tecumsehpower.com

$

$

Not available

75

Toro 27897

Seal-Oil

Note: Obtain parts from www.tecumsehpower.com

$

$

Currently unavailable

80

Toro 30574A

Shaft-Governor

Note: Obtain parts from www.tecumsehpower.com

$

$

Currently unavailable

81

Toro 30590A

Washer-Flat

Note: Obtain parts from www.tecumsehpower.com

$

$

Currently unavailable

82

Toro 30591

Governor Gear ASM

Note: Obtain parts from www.tecumsehpower.com

$

$

Currently unavailable

83

Toro 30588A

Spool-Governor

Note: Obtain parts from www.tecumsehpower.com

$

$

Currently unavailable

86

Toro 650488

Screw (1/4-20 x 1-1/4)

Note: Obtain parts from www.tecumsehpower.com

$

$

Currently unavailable

89

Toro 611004

Key-Flywheel

Note: Obtain parts from www.tecumsehpower.com

$

$

Not available

90

Toro 611112

Flywheel
(Superseded to 611113)

Note: Obtain parts from www.tecumsehpower.com

$

$

Not available

92

Toro 650815

Washer-Belleville

Note: Obtain parts from www.tecumsehpower.com

$

$

Currently unavailable

93

Toro 650816

Nut-Flywheel

Note: Obtain parts from www.tecumsehpower.com

$

$

Currently unavailable

100

Toro 34443C

Ignition-State, Solid

Note: Obtain parts from www.tecumsehpower.com

$

$

Currently unavailable

101

Toro 610118

Cover-Spark Plug

Note: Obtain parts from www.tecumsehpower.com

$

$

Currently unavailable

103

Toro 651007

Screw (T-15, 10-24 x 15/16)

Note: Obtain parts from www.tecumsehpower.com

$

$

Currently unavailable

104

Toro 37480

Bushing-Cam

Note: Obtain parts from www.tecumsehpower.com

$

$

Currently unavailable

110

Toro 37047

Wire-Ground

Note: Obtain parts from www.tecumsehpower.com

$

$

Currently unavailable

*119

Toro 36787

Gasket-Cylinder Head

Note: Obtain parts from www.tecumsehpower.com

$

$

Currently unavailable

120

Toro 36825

Head-Cylinder

Note: Obtain parts from www.tecumsehpower.com

$

$

Currently unavailable

125

Toro 36780

Valve-Exhaust (1/32in OS) (Incl. 151)

Note: Obtain parts from www.tecumsehpower.com

$

$

Currently unavailable

125

Toro 37288

Valve-Exhaust (Std.) (Incl. Ref. #151)

Note: Obtain parts from www.tecumsehpower.com

$

$

Currently unavailable

126

Toro 37289

Valve-Intake (Std.) (Incl. Ref. #151 and 151A)

Note: Obtain parts from www.tecumsehpower.com

$

$

Currently unavailable

130

Toro 6021A

Screw (5/16-18x1-1/2)

Note: Obtain parts from www.tecumsehpower.com

$

$

Currently unavailable

135

Toro 35395

Spark Plug-Resistor (R J19 L M)

Note: Obtain parts from www.tecumsehpower.com

$

$

Currently unavailable

150

Toro 31672

Spring-Valve

Note: Obtain parts from www.tecumsehpower.com

$

$

Currently unavailable

151

Toro 31673

Cap-Valve, Spring
(Superseded to 742357)

Note: Obtain parts from www.tecumsehpower.com

$

$

Not available

151A

Toro 40017

BEARING - TRANS

Note: Obtain parts from www.tecumsehpower.com

$

$

Not available

166

Toro 37694

Shroud-Engine

Note: Obtain parts from www.tecumsehpower.com

$

$

Currently unavailable

*169

Toro 36783

Gasket-Cover, Valve

Note: Obtain parts from www.tecumsehpower.com

$

$

Currently unavailable

172

Toro 36784

Cover-Valve

Note: Obtain parts from www.tecumsehpower.com

$

$

Not available

174

Toro 30200

Screw (10-24 x 9/16)

Note: Obtain parts from www.tecumsehpower.com

$

$

Currently unavailable

178

Toro 29752

Nut and Lock Washer (1/4-28)

Note: Obtain parts from www.tecumsehpower.com

$

$

Currently unavailable

182

Toro 6201

See Supercession: 111-1250
(Superseded to 111-1250)

Note: Obtain parts from www.tecumsehpower.com

$

$

Not available

*184

Toro 26756

Gasket

Note: Obtain parts from www.tecumsehpower.com

$

$

Currently unavailable

185

Toro 37466

Pipe-Intake

Note: Obtain parts from www.tecumsehpower.com

$

$

Currently unavailable

186

Toro 32653

Link-Governor

Note: Obtain parts from www.tecumsehpower.com

$

$

Currently unavailable

189

Toro 650839

Screw (1/4-20 x 3/8)

Note: Obtain parts from www.tecumsehpower.com

$

$

Currently unavailable

191

Toro 36559A

Bracket-S.E. Brake (Incl. Ref. #195)

Note: Obtain parts from www.tecumsehpower.com

$

$

Currently unavailable

195

Toro 610973

Terminal

Note: Obtain parts from www.tecumsehpower.com

$

$

Currently unavailable

207

Toro 34336A

Link-Throttle

Note: Obtain parts from www.tecumsehpower.com

$

$

Currently unavailable

216

Toro 33086

Lever-Adjusting, R P M

Note: Obtain parts from www.tecumsehpower.com

$

$

Currently unavailable

223

Toro 650451

Screw (1/4-20 x 1)

Note: Obtain parts from www.tecumsehpower.com

$

$

Currently unavailable

*224

Toro 36786

Gasket-Pipe, Intake

Note: Obtain parts from www.tecumsehpower.com

$

$

Currently unavailable

238

Toro 650932

Screw (10-32 x 49/64)

Note: Obtain parts from www.tecumsehpower.com

$

$

Currently unavailable

*239

Toro 34338

Gasket-Cleaner, Air

Note: Obtain parts from www.tecumsehpower.com

$

$

Currently unavailable

241

Toro 36919

Collar-Cleaner, Air

Note: Obtain parts from www.tecumsehpower.com

$

$

Currently unavailable

245

Toro 36905

Filter-Cleaner, Air (Paper)

Note: Obtain parts from www.tecumsehpower.com

$

$

Currently unavailable

250

Toro 37122

Cover-Cleaner, Air

Note: Obtain parts from www.tecumsehpower.com

$

$

Currently unavailable

260

Toro 37696A

Housing-Blower

Note: Obtain parts from www.tecumsehpower.com

$

$

Currently unavailable

261

Toro 30200

Screw (10-24 x 9/16)

Note: Obtain parts from www.tecumsehpower.com

$

$

Currently unavailable

262

Toro 650831

Screw (1/4-20 x 1/2)

Note: Obtain parts from www.tecumsehpower.com

$

$

Currently unavailable

275

Toro 37498

Muffler

Note: Obtain parts from www.tecumsehpower.com

$

$

Currently unavailable

277

Toro 650988

Screw (1/4-20 x 2-9/32)

Note: Obtain parts from www.tecumsehpower.com

$

$

Currently unavailable

285

Toro 35000A

Cup-Starter

Note: Obtain parts from www.tecumsehpower.com

$

$

Currently unavailable

287

Toro 650926

Screw (8-32 x 21/64)

Note: Obtain parts from www.tecumsehpower.com

$

$

Currently unavailable

290

Toro 29774

Line-Fuel (8.62)

Note: Obtain parts from www.tecumsehpower.com

$

$

Currently unavailable

292

Toro 26460

Clamp-Line, Fuel

Note: Obtain parts from www.tecumsehpower.com

$

$

Currently unavailable

300

Toro 35586A

Fuel Tank (Incl. Ref. #292 and 301)

Note: Obtain parts from www.tecumsehpower.com

$

$

Currently unavailable

301

Toro 36246

Cap-Fuel

Note: Obtain parts from www.tecumsehpower.com

$

$

Currently unavailable

305

Toro 35647

Tube-Fill, Oil

Note: Obtain parts from www.tecumsehpower.com

$

$

Currently unavailable

*306

Toro 37610

O-Ring

Note: Obtain parts from www.tecumsehpower.com

$

$

Currently unavailable

307

Toro 35499

O-Ring

Note: Obtain parts from www.tecumsehpower.com

$

$

Currently unavailable

309

Toro 650562

Screw (10-32 x 1/2)

Note: Obtain parts from www.tecumsehpower.com

$

$

Currently unavailable

309A

Toro 650783

Screw (10-24 x 3/4)

Note: Obtain parts from www.tecumsehpower.com

$

$

Currently unavailable

310

Toro 35648

Dipstick
(Superseded to 700539)

Note: Obtain parts from www.tecumsehpower.com

$

$

Not available

311A

Toro 37611

Bracket-Holddown

Note: Obtain parts from www.tecumsehpower.com

$

$

Currently unavailable

313

Toro 34080

Spacer

Note: Obtain parts from www.tecumsehpower.com

$

$

Currently unavailable

347

Toro 650898A

Screw (10-32 x 27/32)

Note: Obtain parts from www.tecumsehpower.com

$

$

Currently unavailable

370

Toro 35977

Decal-Warning

Note: Obtain parts from www.tecumsehpower.com

$

$

Currently unavailable

370A

Toro 36261

Decal-Lubrication

Note: Obtain parts from www.tecumsehpower.com

$

$

Currently unavailable

370C

Toro 37695

Decal-Primer

Note: Obtain parts from www.tecumsehpower.com

$

$

Not available

380

Toro 640303

Carburetor (Incl. Ref. #184 of Engine Parts List)

Note: Obtain parts from www.tecumsehpower.com

$

$

Currently unavailable

390

Toro 590739

Rewind Starter ASM

Note: Obtain parts from www.tecumsehpower.com

$

$

Currently unavailable

400

Toro 37613

Gasket Set

Note: Obtain parts from www.tecumsehpower.com

$

$

Currently unavailable

416

Toro 37530

Spark Arrestor Kit

Note: Obtain parts from www.tecumsehpower.com

$

$

Currently unavailable

Toro 750876

Shortblock-Replacement

Note: Obtain parts from www.tecumsehpower.com

$

$

Currently unavailable