22044 BC - Toro Walk-Behind Mower (SN: 059000001 - 059999999) (1995) Traction Control Assembly Parts Diagram

Walk-Behind Mower

Traction Control Assembly Parts Diagram

  • Title
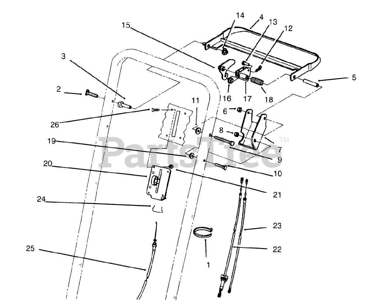
1

Toro 3290-378

TIE-CABLE

$0.99

$

In Stock, Qty 9

0

2

Toro 17-9427

SCREW

$9.49

$

Usually ships in 3-6 days

0

3

Toro 49-1631

SPACER-SUPPORT

$6.99

$

In Stock, only 1 left!

0

4

Toro 84-8940

See Supercession: 84-8940-03
(Superseded to 84-8940-03)

$139.99

$

Usually ships in 3-6 days

0

5

Toro 84-9030

SPACER-BRACKET, CONTROL

$48.99

$

Usually ships in 3-6 days

0

6

Toro 3296-29

NUT-LOCK, NI

$2.49

$

In Stock, Qty 20+

0

7

Toro 92-1778

See Supercession: 92-1778-03
(Superseded to 92-1778-03)

$20.99

$

Usually ships in 3-6 days

0

8

Toro 3296-42

NUT-LOCK, NI

$0.99

$

In Stock, Qty 20+

0

9

Toro 322-19

SCREW-HH

$6.99

$

In Stock, only 2 left!

0

10

Toro 46-6430

SCREW-HANDLE

$13.99

$

Usually ships in 3-6 days

0

11

Toro 71-9310

SPACER

$2.99

$

Usually ships in 3-6 days

0

12

Toro 3272-1

PIN-COTTER

$0.99

$

In Stock, only 3 left!

0

13

Toro 84-9040

PIN-CABLE

$13.99

$

Usually ships in 3-6 days

0

14

Toro 3296-58

NUT-LOCK, NI

$2.99

$

In Stock, Qty 12

0

15

Toro 84-9000

LEVER-TRACTION

$30.99

$

Usually ships in 3-6 days

0

16

Toro 86-9320

BUSHING-FLANGE

$9.99

$

Usually ships in 3-6 days

0

17

Toro 84-8990

LEVER-BBC

$33.99

$

Usually ships in 3-6 days

0

18

Toro 85-6750

SPRING-CONTROL

$11.99

$

Usually ships in 3-6 days

0

19

Toro 71-9320

SPACER

$2.99

$

Usually ships in 3-6 days

0

20

Toro 85-6770

CONTROL-THROTTLE

$91.99

$

Usually ships in 3-6 days

0

21

Toro 3296-2

NUT-LOCK, NI

$2.49

$

In Stock, Qty 20+

0

22

Toro 84-9120

CABLE-TRACTION

$76.99

$

In Stock, only 4 left!

0

23

Toro 84-9110

CABLE-CLUTCH

$102.99

$

In Stock, only 2 left!

0

24

Toro 85-6780

RETAINER-CABLE, THROTTLE

$

$

Not available

25

Toro 85-6760

CABLE-THROTTLE

$

$

Not available

26

Toro 3250-14

SCREW-PPH

$6.99

$

Usually ships in 3-6 days

0