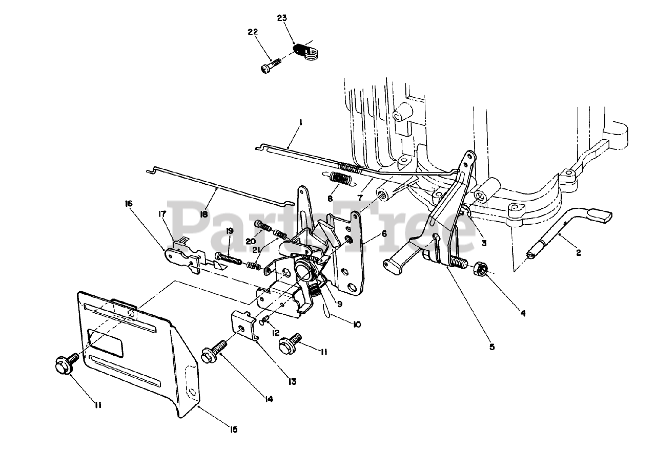
22621 - Toro Walk-Behind Mower (SN: 000000001 - 000999999) (1990) Governor Assembly (engine Model No. Vmh7-4) Parts Diagram

Walk-Behind Mower

Governor Assembly (engine Model No. Vmh7-4) Parts Diagram

  • Title
1

Toro 81-4450

DISCONTINUED

$

$

Not available

2

Toro 81-4480

DISCONTINUED

$

$

Not available

3

Toro 81-4540

DISCONTINUED

$

$

Not available

4

Toro 81-4490

See Supercession: 81-3760
(Superseded to 81-3760)

$

$

Not available

5

Toro 81-4500

DISCONTINUED

$

$

Not available

6

Toro 81-4510

DISCONTINUED

$

$

Not available

7

Toro 81-4470

SPRING

$

$

Not available

8

Toro 81-4460

SPRING

$15.99

$

Usually ships in 3-6 days

0

9

Toro 81-4570

DISCONTINUED

$

$

Not available

10

Toro 81-4520

SPRING

$15.99

$

Usually ships in 3-6 days

0

11

$

$

Not available

12

Toro 81-4530

RIVET

$2.49

$

Usually ships in 3-6 days

0

13

Toro 81-1690

CLAMP-CABLE

$2.99

$

Usually ships in 3-6 days

0

14

$

$

Not available

15

Toro 57-5750

THROTTLE GUARD *

$

$

Not available

16

Toro 81-1830

INSULATOR-KILL SWITCH

$7.49

$

Usually ships in 3-6 days

0

17

Toro 81-1840

TERMINAL-KILL SWITCH

$11.99

$

Usually ships in 3-6 days

0

18

Toro 81-4770

DISCONTINUED

$

$

Not available

19

Toro 81-4560

DISCONTINUED

$

$

Not available

20

Toro 81-4550

DISCONTINUED

$

$

Not available

21

Toro 81-2510

See Supercession: 81-2900
(Superseded to 81-2900)

$

$

Not available

22

Toro 81-0380

SCREW

$

$

Not available

23

Toro 81-4780

See Supercession: 81-1480
(Superseded to 81-1480)

$

$

Not available