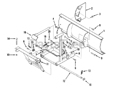
26-48BZ01 - Toro 48" Snow Blade (1988) Parts & Diagrams Parts Lists & Diagrams

48" Snow Blade

26-48BZ01 - Toro 48" Snow Blade (1988) > Parts Diagrams (1)