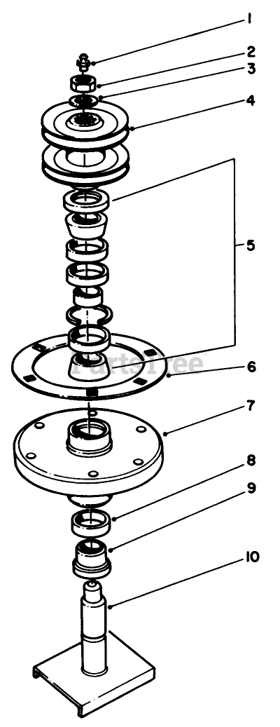
30136 - Toro 36" Side-Discharge Mower Deck (SN: 005000001 - 005999999) (1985) Drive Spindle No. 54-7780 (cutting Units Model No. 30136 30152) Parts Diagram

36" Side-Discharge Mower Deck

Drive Spindle No. 54-7780 (cutting Units Model No. 30136 30152) Parts Diagram

  • Title
1

Toro 302-2

FITTING-GREASE

$2.49

$

In Stock, only 4 left!

0

2

Toro 32146-20

NUT-HEX

$3.99

$

In Stock, Qty 20+

0

3

Toro 7-4150

WASHER

$1.49

$

In Stock, only 2 left!

0

4

Toro 54-2980

DISCONTINUED

$

$

Not available

5

Toro 46-8530

BEARING ASM

$107.99

$

In Stock, only 4 left!

0

6

Toro 27-7680

See Supercession: 27-7680-03
(Superseded to 27-7680-03)

$91.99

$

Usually ships in 3-6 days

0

7

Toro 27-0880

See Supercession: 61-4160
(Superseded to 61-4160)

$149.99

$

In Stock, only 2 left!

0

8

Toro 253-139

SEAL-OIL

$14.99

$

In Stock, Qty 5

0

9

Toro 27-0950

SPACER

$34.99

$

In Stock, only 2 left!

0

10

Toro 51-3550

DISCONTINUED

$

$

Not available