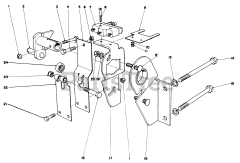
30562 - Toro 62" Mower Deck for Groundsmaster 200 Series (SN: 006000001 - 006999999) (1986) Parts & Diagrams Parts Lists & Diagrams

62" Mower Deck for Groundsmaster 200 Series

30562 - Toro 62" Mower Deck for Groundsmaster 200 Series (SN: 006000001 - 006999999) (1986) > Parts Diagrams (61)