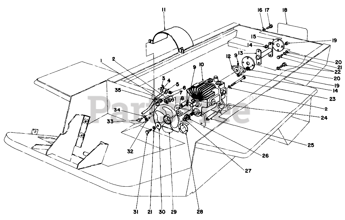
30575 - Toro 72" Side-Discharge Mower Deck (SN: 010000001 - 019999999) (1991) TRANSMISSION AND DRIVE COUPLING ASSEMBLY Parts Diagram

72" Side-Discharge Mower Deck

TRANSMISSION AND DRIVE COUPLING ASSEMBLY Parts Diagram

  • Title
1

Toro 3217-7

NUT-HEX

$0.99

$

In Stock, Qty 19

0

2

Toro 3253-21

WASHER-LOCK

$0.99

$

In Stock, only 2 left!

0

3

Toro 3272-10

PIN-COTTER

$1.49

$

In Stock, Qty 20+

0

4

Toro 3256-26

WASHER-FLAT

$0.99

$

In Stock, Qty 20+

0

5

Toro 27-4160

PUMP CONTROL TUBE WA

$

$

Not available

6

Toro 23-2270

BUSHING-RUBBER

$22.99

$

Usually ships in 3-6 days

0

7

Toro 27-5310

Axle Support
(Superseded to 27-5310-03)

$

$

Not available

8

Toro 27-4340

Hub & Plug
(Superseded to 27-4340-03)

$

$

Not available

9

Toro 3245-1

SCREW-SET, HSH

$1.99

$

In Stock, only 2 left!

0

10

Toro 49-7910

Transmission
(Superseded to 99-5677)

$

$

Not available

11

Toro 27-3270

Fan Shroud
(Superseded to 27-3270-03)

$

$

Not available

12

Toro 27-4370

HUB-PUMP

$89.99

$

Usually ships in 3-6 days

0

13

Toro 44-8720

Drive Shaft
(Superseded to 44-8720-03)

$

$

Not available

14

Toro 32152-5

NUT-HEX

$3.99

$

In Stock, only 2 left!

0

15

Toro 44-2230

COUPLING-RUBBER
(Superseded to 115-4523)

$59.99

$

In Stock, Qty 20+

0

16

Toro 27-6600

SPACER-COUPLING
(Superseded to 125-9249)

$2.99

$

In Stock, only 3 left!

0

17

Toro 3210-5

SCREW-HH

$4.49

$

In Stock, only 4 left!

0

18

Toro 62-7400

DECAL

$27.99

$

Usually ships in 3-6 days

0

19

Toro 33-2020

SPACER-RUBBER COUPLNG

$

$

Not available

20

Toro 3256-3

WASHER-FLAT

$0.99

$

In Stock, Qty 20+

0

21

Toro 3253-4

WASHER-LOCK

$0.99

$

In Stock, Qty 15

0

22

Toro 3210-8

SCREW-HH

$4.49

$

In Stock, only 3 left!

0

23

Toro 323-38

SCREW-HH

$12.99

$

In Stock, Qty 20+

0

24

Toro 3257-5

KEY-WOODRUFF

$5.99

$

In Stock, Qty 20+

0

25

Toro 27-3680

SPACER-MOUNTING

$9.49

$

Usually ships in 3-6 days

0

26

Toro 23-4810

Gear
(Superseded to 86-7220)

$116.99

$

Usually ships in 3-6 days

0

27

Toro 32120-72

Ring-Snap

$2.49

$

In Stock, Qty 20+

0

28

Toro 27-3690

GASKET-TRANSMISSION

$9.99

$

Usually ships in 3-6 days

0

29

$

$

Not available

30

Toro 27-4360

WASHER

$

$

Not available

31

Toro 322-5

SCREW-HH

$0.99

$

In Stock, Qty 20+

0

32

Toro 3218-5

NUT-JAM

$1.49

$

In Stock, Qty 20+

0

33

Toro 321-2

SCREW-HH

$3.99

$

In Stock, only 2 left!

0

34

Toro 3253-3

WASHER-LOCK

$0.99

$

In Stock, Qty 20+

0

35

Toro 3290-378

TIE-CABLE

$0.99

$

Usually ships in 3-6 days

0