488 - Shindaiwa Chainsaw (Original Version) Cylinder / Muffler Parts Diagram

Chainsaw

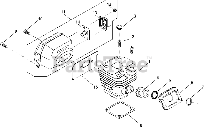
Cylinder / Muffler Parts Diagram

  • Title
1

Echo A130001820

CYLINDER
(Superseded to A130002080)

Note: 22157-12110

$170.99

$

Usually ships in 2-4 days

0

2

Echo V203001600

BOLT M5×18

Note: 22157-12130

$1.49

$

In Stock, Qty 12

0

3

Echo V141000110

PLUG

Note: 22160-22220

$1.49

$

Usually ships in 2-4 days

0

4

Echo A202000160

BOOT

Note: 22160-12150

$18.99

$

In Stock, only 2 left!

0

5

Echo V451000920

SPRING, TENSION
(Superseded to A206000050)

Note: 22160-12160

$1.99

$

In Stock, only 2 left!

0

6

Echo V541000280

SEAL

Note: 22160-12170

$6.49

$

In Stock, only 2 left!

0

7

Echo V359000210

SLEEVE

Note: 22115-14140

$2.49

$

In Stock, only 2 left!

0

8

Echo V100000550

GASKET, CYLINDER

Note: 22160-12120

$1.99

$

In Stock, Qty 5

0

9

Echo V203001500

BOLT

Note: 22157-15330

$1.49

$

In Stock, only 2 left!

0

10

Echo V203001600

BOLT M5×18

Note: 22157-12130

$1.49

$

In Stock, Qty 12

0

11

Echo A030000570

MUFFLER ASSY

Note: 72365-15100

$

$

Not available

12

Echo 9157804006

SCREW M4×6

Note: 11204-04080

$1.49

$

Usually ships in 2-4 days

0

13

Echo A313001540

DEFLECTOR, EXHAUST

Note: 72365-15210

$7.99

$

Usually ships in 2-4 days

0

14

Echo A310000300

SCREEN, SPARK ARRESTER

Note: 72311-15190

$3.49

$

In Stock, only 2 left!

0

15

Echo V104001590

GASKET

Note: 22160-15310

$3.99

$

In Stock, only 2 left!

0