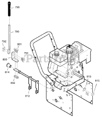
536.887996 - Craftsman 29" Snow Thrower (2004) (Sears) Parts & Diagrams Parts Lists & Diagrams

29" Snow Thrower