55003 (800) - Toro Lawn Tractor (SN: 000000001 - 000999999) (1970) Model 390417 Carburetor Assembly (recoil Electric) Parts Diagram

Lawn Tractor

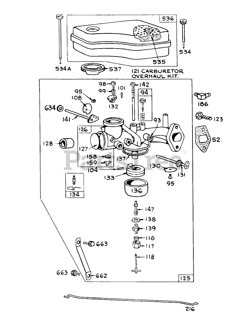
Model 390417 Carburetor Assembly (recoil Electric) Parts Diagram

  • Title
52

Toro 270538

Gasket-Carburetor Mtg.

Note: Included in Gasket Set-Part No. 299577

$

$

Currently unavailable

93

Toro 23108

Bushing-Throttle Shaft

$

$

Currently unavailable

94

Toro 292681

Valve Assembly

Note: Included in Carburetor Overhaul Kit-Part No. 295938

$

$

Currently unavailable

94

Toro 292681

Valve Assembly

Note: Included in Carburetor Overhaul Kit-Part No. 299852

$

$

Currently unavailable

95

Toro 93038

Screw, Throttle Valve Mtg. Sem

$

$

Currently unavailable

98

Toro 91920

Screw

$

$

Currently unavailable

99

Toro 26157

Spring

$

$

Currently unavailable

101

$

$

Currently unavailable

104

Toro 230896

Pin-Float

Note: Included in Carburetor Overhaul Kit-Part No. 295938

$

$

Currently unavailable

104

Toro 230896

Pin-Float

Note: Included in Carburetor Overhaul Kit-Part No. 299852

$

$

Currently unavailable

108

Toro 222010

Valve

$

$

Currently unavailable

116

Toro 68677

Latch Bar

Note: Included in Carburetor Overhaul Kit-Part No. 295938

$

$

Currently unavailable

116

Toro 68677

Latch Bar

Note: Included in Carburetor Overhaul Kit-Part No. 299852

$

$

Currently unavailable

117

Toro 23118

Nut-Needle Valve Pkng.

Note: Included in Carburetor Overhaul Kit-Part No. 299852

$

$

Currently unavailable

117

Toro 23118

Nut-Needle Valve Pkng.

Note: Included in Carburetor Overhaul Kit-Part No. 295938

$

$

Currently unavailable

118

Toro 299762

Valve-Needle

Note: Included in Carburetor Overhaul Kit-Part No. 299852

$

$

Currently unavailable

121

Toro 299852

Carburetor OverhauI Kit

$

$

Currently unavailable

123

Toro 93357

Screw

$

$

Currently unavailable

125

Toro 390417

Carburetor Assy.

$

$

Currently unavailable

126

Toro 299851

Body Assy. Carburetor

$

$

Currently unavailable

127

$

$

Currently unavailable

128

Toro 211682

Venturi-Carburetor

$

$

Not available

130

Toro 221986

Valve-Throltle

$

$

Currently unavailable

131

Toro 299650

Shaft Lever, Throttle

$

$

Currently unavailable

132

Toro 211712

Stop-Thottle

$

$

Currently unavailable

133

Toro 299707

Float-Carburetor

$

$

Currently unavailable

134

Toro 299096

Valve-FuelInlet

Note: Included in Carburetor Overhaul Kit-Part No. 299852

$

$

Currently unavailable

136

Toro 221995

Bowl-Float

$

$

Currently unavailable

137

Toro 270511

Gasket-Bowl

Note: Included in Carburetor Overhaul Kit-Part No. 299852

$

$

Currently unavailable

138

Toro 222014

Washer-Bowl

Note: Included in Carburetor Overhaul Kit-Part No. 299852

$

$

Currently unavailable

139

Toro 230935

Retainer-Jet Needle

Note: Included in Carburetor Overhaul Kit-Part No. 299852

$

$

Currently unavailable

141

Toro 299746

Shaft and Lever

$

$

Currently unavailable

142

Toro 299740

Nozzle-Carburator

Note: Included in Carburetor Overhaul Kit-Part No. 299852

$

$

Currently unavailable

147

Toro 230932

Screw-Nozzle

Note: Included in Carburetor Overhaul Kit-Part No. 299852

$

$

Currently unavailable

158

Toro 27590

Filter-Carburetor Drain

$

$

Currently unavailable

159

Toro 220521

Retainer, Carb. Drain Filter

$

$

Not available

186

Toro 67218

Connector-Fuel

$

$

Currently unavailable

216

Toro 260979

Link-Choke

$

$

Currently unavailable

534

Toro 93323

Screw-AirCleaner

$

$

Currently unavailable

534A

Toro 93622

Screw Air Cleaner

$

$

Currently unavailable

535

Toro 270528

Element-Air Cleaner

$

$

Currently unavailable

536

Toro 390379

Cleaner Assy.-Air

$

$

Currently unavailable

537

Toro 270539

Gasket-Air Cleaner

$

$

Currently unavailable

634

Toro 270382

Washer

$

$

Currently unavailable

662

Toro 222027

Bracket-Carburetor

$

$

Currently unavailable

663

Toro 93572

Screw

$

$

Currently unavailable