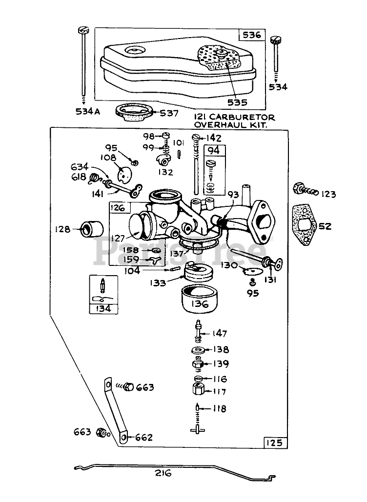
55233 - Toro 36" Lawn Tractor (SN: 003000001 - 003999999) (1973) MODEL NO. 390811 CARBURETOR ASSEMBLY (FOR ENGINE 190707-0626) Parts Diagram

36" Lawn Tractor

MODEL NO. 390811 CARBURETOR ASSEMBLY (FOR ENGINE 190707-0626) Parts Diagram

  • Title
101

Briggs & Stratton 93043

Pin
(Superseded to 691616)

$4.99

$

In Stock, only 2 left!

0

104

Briggs & Stratton 230896

Pin-Float
(Superseded to 691775)

Note: Included in Carburetor Overhaul Kit-Part No. 299852

$4.49

$

In Stock, Qty 8

0

$8.49

$

Usually ships in 2-12 days

0

116

Briggs & Stratton 68677

Latch Bar

Note: Included in Carburetor Overhaul Kit-Part No. 299852

$

$

Not available

117

Briggs & Stratton 23118

Nut-Needle Valve Pkng.
(Superseded to 5023118)

Note: Included in Carburetor Overhaul Kit-Part No. 299852

$8.49

$

In Stock, only 2 left!

0

118

Toro 299762

Valve-Needle

Note: Included in Carburetor Overhaul Kit-Part No. 299852

$

$

Currently unavailable

121

Briggs & Stratton 299852

Carburetor OverhauI Kit

$

$

Not available

123

Briggs & Stratton 93357

Screw
(Superseded to 690953)

$

$

Not available

125

Briggs & Stratton 390811

Carburetor Assembly
(Superseded to 491590)

$261.99

$

Usually ships in 2-12 days

0

126

Toro 390812

Body Assy.-Lower Carb.

$

$

Currently unavailable

$5.49

$

Usually ships in 2-12 days

0

128

Briggs & Stratton 211682

Venturi-Carburetor

$

$

Not available

130

Briggs & Stratton 221986

Valve-Throltle

$8.99

$

Usually ships in 2-12 days

0

131

Briggs & Stratton 299650

Shaft & Lever, Throttle
(Superseded to 491006)

$23.99

$

Usually ships in 2-12 days

0

132

$9.49

$

Usually ships in 2-12 days

0

133

Briggs & Stratton 299707

Float-Carburetor

$

$

Not available

134

Briggs & Stratton 299096

Valve-FuelInlet
(Superseded to 394681)

Note: Included in Carburetor Overhaul Kit-Part No. 299852

$8.49

$

In Stock, Qty 20+

0

136

$9.99

$

In Stock, Qty 9

0

137

Briggs & Stratton 270511

Gasket-Bowl

Note: Included in Carburetor Overhaul Kit-Part No. 299852

$3.49

$

In Stock, Qty 20+

0

138

Briggs & Stratton 222014

Washer-Bowl
(Superseded to 690618)

Note: Included in Carburetor Overhaul Kit-Part No. 299852

$5.99

$

In Stock, only 3 left!

0

139

Toro 230935

Retainer-Jet Needle

Note: Included in Carburetor Overhaul Kit-Part No. 299852

$

$

Currently unavailable

141

Briggs & Stratton 390684

Shaft and Lever

$18.99

$

Usually ships in 2-12 days

0

142

299740 Nozzle-Carburetor

Note: Included in Carburetor Overhaul Kit-Part No. 299852

$

$

Not available

147

230932 Screw-Nozzle

Note: Included in Carburetor Overhaul Kit-Part No. 299852

$

$

Not available

158

Briggs & Stratton 27590

Filter-Carburetor Drain

$7.49

$

In Stock, only 1 left!

0

159

Briggs & Stratton 220521

Retainer, Carb. Drain Filter

$

$

Not available

216

$

$

Not available

52

Briggs & Stratton 270538

Gasket-Carburetor Mtg.
(Superseded to 692915)

Note: Included in Gasket Set-Part No. 299577

$5.99

$

In Stock, Qty 12

0

534A

Briggs & Stratton 93622

Screw Air Cleaner

$6.99

$

In Stock, Qty 6

0

534

Briggs & Stratton 93323

Screw-AirCleaner

$7.99

$

In Stock, only 4 left!

0

535

Briggs & Stratton 270528

Element-Air Cleaner
(Superseded to 270528S)

$16.99

$

In Stock, Qty 16

0

536

Briggs & Stratton 390379

Cleaner Assy.-Air

$

$

Not available

537

Briggs & Stratton 270539

Gasket-Air Cleaner

$9.49

$

In Stock, only 1 left!

0

618

$

$

Not available

634

Briggs & Stratton 270382

Washer
(Superseded to 691869)

$4.49

$

In Stock, only 2 left!

0

662

Briggs & Stratton 222027

Bracket-Carburetor
(Superseded to 224440)

$4.49

$

In Stock, only 1 left!

0

663

Briggs & Stratton 93572

Screw
(Superseded to 690664)

$5.49

$

In Stock, Qty 7

0

93

Briggs & Stratton 23108

Bushing-Throttle Shaft
(Superseded to 691769)

$9.99

$

Usually ships in 2-12 days

0

94

Briggs & Stratton 292681

Valve Assembly

Note: Included in Carburetor Overhaul Kit-Part No. 299852

$12.99

$

In Stock, Qty 7

0

95

Briggs & Stratton 93038

Screw, Throttle Valve Mtg. Sem
(Superseded to 691437)

$3.99

$

In Stock, only 3 left!

0

98

Briggs & Stratton 91920

Screw
(Superseded to 691615)

$

$

Not available

99

Briggs & Stratton 26157

Spring
(Superseded to 693942)

$

$

Not available