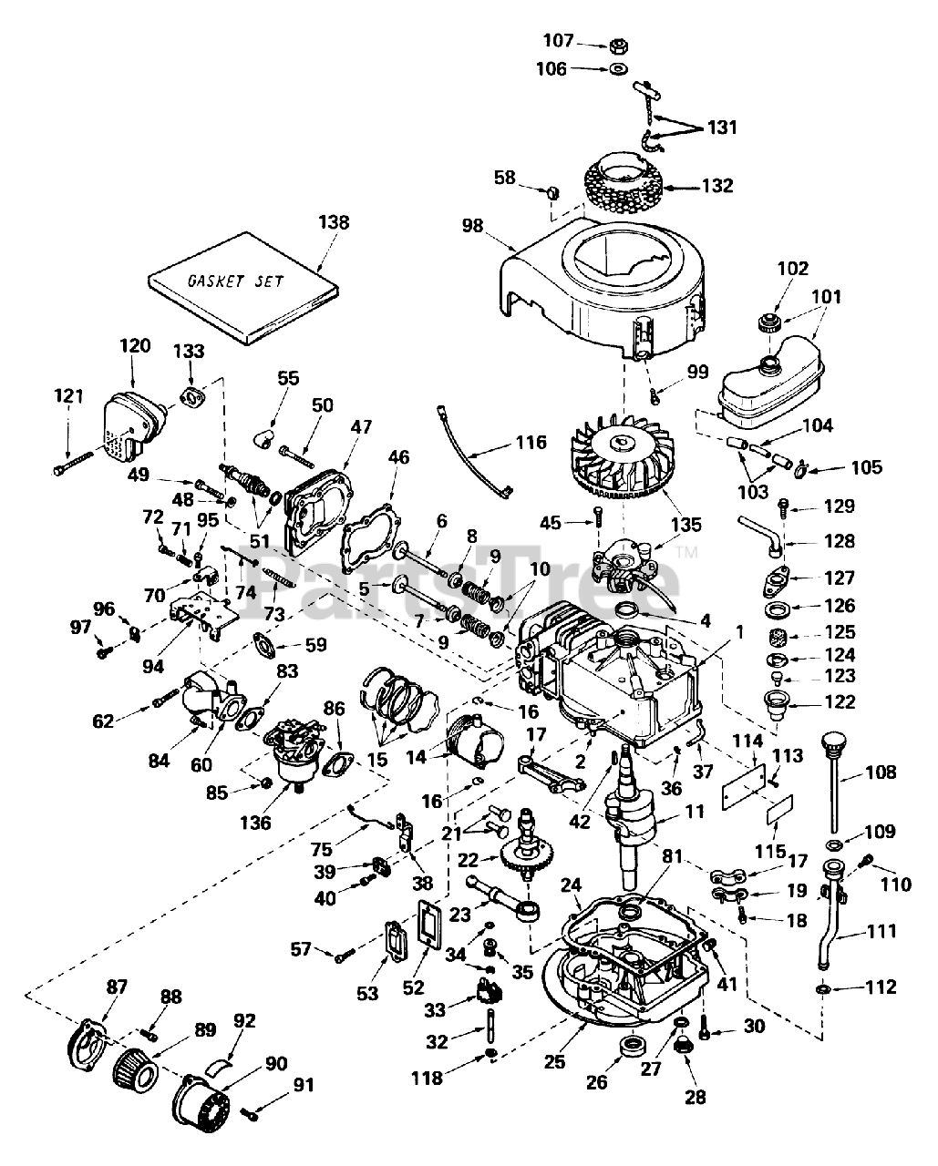
56022 - Toro 25" Premium Rear-Engine Riding Mower (SN: 004000001 - 004999999) (1974) Tecumseh Engine Model No. Lav50 Type 62004 (model No. 56027) Parts Diagram

25" Premium Rear-Engine Riding Mower

Tecumseh Engine Model No. Lav50 Type 62004 (model No. 56027) Parts Diagram

  • Title
1

Toro 33729

Cylinder Assy. (Incl. Nos. 2 4)

$

$

Currently unavailable

2

Toro 26727

Pin-Dowel

$

$

Currently unavailable

4

Toro 32600

Seal-Oil

$

$

Currently unavailable

5

Toro 32644

Valve, Intake (Standard) (Incl. Nos. 7, 9 10)

$

$

Currently unavailable

5

Toro 32645

Valve, Intake (1/32" Oversize) (Incl. Nos. 7, 9 10)

$

$

Currently unavailable

6

Toro 29313B

Valve, Exhaust (Standard) (Incl. Nos. 8, 9 10)

$

$

Currently unavailable

6

Toro 29315B

Valve, Exhaust (1/32" Oversize) (Incl. Nos. 8, 9 10)

$

$

Currently unavailable

7

Toro 31671

Cap-Upper Valve Spring

$

$

Currently unavailable

8

Toro 33678

Cap, Upper Valve Spg (Exhaust)

$

$

Currently unavailable

9

Toro 31672

Spring-Valve

$

$

Currently unavailable

10

Toro 31673

Cap-Valve, Spring
(Superseded to 742357)

$

$

Not available

11

Toro 33730A

Crankshaft Assy.

$

$

Currently unavailable

14

Toro 33680

Piston Pin Assy. (Standard) (Incl. 2 of No. 16)

$

$

Currently unavailable

14

Toro 33681

Piston Pin Assy. (.010 Oversize) (Incl. 2 of No. 16)

$

$

Currently unavailable

14

Toro 33682

Piston Pin Assy. (.020 Oversize) (Incl. 2 of No. 16)

$

$

Currently unavailable

15

Toro 33567

Ring Set-Piston Std.

$

$

Currently unavailable

15

Toro 33568

Ring Set-Piston .010 oversize

$

$

Currently unavailable

15

Toro 33569

Ring Set-Piston .020 oversize

$

$

Currently unavailable

16

Toro 20381

Ring-Retaining, Piston Pin

$

$

Currently unavailable

17

Toro 33661

Rod Assy., Connecting (Incl. Nos. 18 19)

$

$

Currently unavailable

18

Toro 32610

Connecting Rod Bolt

$

$

Currently unavailable

19

Toro 32609

Plate Lock

$

$

Currently unavailable

21

Toro 27241

Lifter-Valve

$

$

Currently unavailable

22

Toro 33154

Camshaft (Compr. Release)

$

$

Currently unavailable

23

Toro 29914

Oil Pump ASM

$

$

Currently unavailable

24

Toro 26750A

Gasket, Mounting

$

$

Currently unavailable

25

Toro 32696

Flange Assy., Mounting (Incl. Nos. 26, 27, 28 32)

$

$

Currently unavailable

26

Toro 27897

Seal-Oil

$

$

Currently unavailable

27

Toro 28833

Gasket-Oil Drain

$

$

Currently unavailable

28

Toro 30572

Plug, Drain

$

$

Currently unavailable

30

Toro 650488

Screw (1/4-20 x 1-1/4)

$

$

Currently unavailable

32

Toro 30574

Shaft-Governor

$

$

Currently unavailable

33

Toro 30591

Governor Gear ASM

$

$

Currently unavailable

34

Toro 29193

Ring-Retaining

$

$

Currently unavailable

35

Toro 30588A

Spool-Governor

$

$

Currently unavailable

36

Toro 28277

Washer-Flat

$

$

Currently unavailable

37

Toro 30589

Rod, Governor (Incl. No. 36)

$

$

Currently unavailable

38

Toro 32651

Governor Lever

$

$

Currently unavailable

39

Toro 31335

Clamp-Lever, Governor

$

$

Currently unavailable

40

Toro 650548

Screw

$

$

Currently unavailable

41

Toro 9556

Plug-Pipe

$

$

Not available

42

Toro 27247

Key Flywheel

$

$

Currently unavailable

45

Toro 650489

Screw

$

$

Currently unavailable

46

Toro 33554

Oil Fill Tube

$

$

Currently unavailable

47

Toro 33016

Head Cylinder

$

$

Currently unavailable

48

Toro 26073

Washer

$

$

Currently unavailable

49

Toro 6021

Screw

$

$

Currently unavailable

50

Toro 650694

Screw Hex Hd. Cap

$

$

Currently unavailable

51

Toro 33636

Plug, Spark (J17LM or equiv.)

$

$

Currently unavailable

52

Toro 27234

Gasket-Breather

$

$

Currently unavailable

53

Toro 32755

Cover-Valve
(Superseded to 740513)

$

$

Not available

55

Toro 610118

Cover-Spark Plug

$

$

Currently unavailable

57

Toro 650128

Screw

$

$

Currently unavailable

58

Toro 27275

51004 GIL ROTARY TI

$3.23

$

Usually ships in 3-6 days

0

59

Toro 33751

Gasket, Intake

$

$

Currently unavailable

60

Toro 33739

Pipe, Intake

$

$

Currently unavailable

62

Toro 650142

Screw, Fil. Slotted Hd.Sems

$

$

Currently unavailable

70

Toro 33150

Brachet, Control

$

$

Currently unavailable

71

Toro 32924

Spring

$

$

Currently unavailable

72

Toro 650688

Screw, Hex Hd.

$

$

Currently unavailable

73

Toro 31386

Spring, Governor

$

$

Currently unavailable

74

Toro 33151

Link Governor Spring

$

$

Currently unavailable

75

Toro 33133

Link Governor

$

$

Not available

81

Toro 32323

Washer-Thrust

$

$

Currently unavailable

83

Toro 26756

Gasket

$

$

Currently unavailable

84

Toro 6202

DISCONTINUED
(Superseded to 83-3410)

$

$

Not available

85

Toro 29752

Nut and Lock Washer (1/4-28)

$

$

Currently unavailable

86

Toro 27272

Gasket

$

$

Currently unavailable

87

Toro 31691

Bracket

$

$

Currently unavailable

88

Toro 28820

Screw (10-32 x 1/2)

$

$

Currently unavailable

89

Toro 30727

Element

$

$

Currently unavailable

90

Toro 31692

Body

$

$

Currently unavailable

91

Toro 650152

Screw

$

$

Currently unavailable

92

Toro 31752

Decal

$

$

Not available

94

Toro 33155

Control Assy., Speed

$

$

Currently unavailable

95

Toro 30200

Screw (10-24 x 9/16)

$

$

Currently unavailable

96

Toro 27793

Conduit

$

$

Currently unavailable

97

Toro 28942

Screw (10-32 x 3/8)

$

$

Currently unavailable

98

Toro 33806

61718/GIL1605A/95-5

$3.23

$

Usually ships in 3-6 days

0

99

Toro 650561

Screw (1/4-20x19/32)

$

$

Currently unavailable

101

Toro 32671

Tank Assy., Fuel (Incl. No. 102)

$

$

Currently unavailable

102

Toro 410144B

Cap, Fuel

$

$

Currently unavailable

103

Toro 29774

Line-Fuel (8.62)

$

$

Currently unavailable

104

Toro 33754

Line, Fuel

$

$

Currently unavailable

105

Toro 26460

Clamp-Line, Fuel

$

$

Currently unavailable

106

Toro 650763

Washer-Spring

$

$

Currently unavailable

107

Toro 650607

Hex Nut

$

$

Currently unavailable

108

Toro 33760

Dipstick, Assy., Oil (Incl. No.109)

$

$

Currently unavailable

109

Toro 29985

O-Ring

$

$

Currently unavailable

110

Toro 650562

Screw (10-32 x 1/2)

$

$

Currently unavailable

111

Toro 33784

Tube Assy., Oil Fill

$

$

Currently unavailable

112

Toro 30139

O-Ring

$

$

Currently unavailable

113

Toro 28670

Stud

$

$

Not available

114

Toro 31345

IDENTIFICATION PLATE

$

$

Currently unavailable

115

Toro 31865

480B GIL SNWTHWR O/

$3.49

$

Usually ships in 3-6 days

0

116

Toro 610683

SPOOL RETAINER (10-PK)

$

$

Not available

118

Toro 30590A

Washer-Flat

$

$

Currently unavailable

120

Toro 33697

Muffler

$

$

Currently unavailable

121

Toro 650327

Screw-Fil. Hd.

$

$

Currently unavailable

122

Toro 33731

Body Breather Tube

$

$

Currently unavailable

123

Toro 33732

Valve Check

$

$

Currently unavailable

124

Toro 33733

2000A37 WIZARD ROTA

$3.49

$

Usually ships in 3-6 days

0

125

Toro 33734

Element-Breather

$

$

Currently unavailable

126

Toro 33735

Gasket-Breather

$

$

Currently unavailable

127

Toro 33737

Cover Breather

$

$

Currently unavailable

128

Toro 33736

Tube, Breather

$

$

Currently unavailable

129

Toro 650768

Screw, Hex Hd. w/Conical

$

$

Currently unavailable

131

Toro 590343

Rope Assy., Starter

$

$

Currently unavailable

132

Toro 33807

61719/GIL1607A,VARI

$3.49

$

Usually ships in 3-6 days

0

133

Toro 33670

Gasket-Exhaust

$

$

Currently unavailable

135

Toro 610881

Magneto

$

$

Currently unavailable

136

Toro 631716

Carburetor

$

$

Currently unavailable

138

Toro 33740

Gasket Set

$

$

Currently unavailable