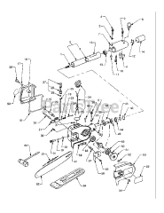
590-536-195 - MTD Pro Pruner Attachment Parts & Diagrams Parts Lists & Diagrams

Pro Pruner Attachment

590-536-195 - MTD Pro Pruner Attachment > Parts Diagrams (1)