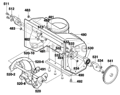
621451x31B - Scotts 21" Snow Thrower (2000) Parts & Diagrams Parts Lists & Diagrams

21" Snow Thrower