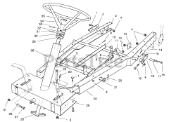
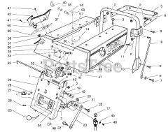
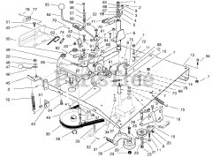
70044 (8-25) - Toro Rear-Engine Riding Mower (SN: 220000001 - 220999999) (2002) Parts & Diagrams Parts Lists & Diagrams

Rear-Engine Riding Mower