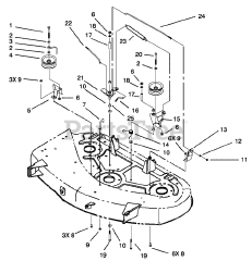
71228 (17-44 HXL) - Toro Lawn Tractor (SN: 230000001 - 230999999) (2003) Parts & Diagrams Parts Lists & Diagrams

Lawn Tractor