72200 (416 XT) - Toro Garden Tractor (SN: 230000001 - 230999999) (2003) Group 3-Oil Pan/Lubrication Assembly Parts Diagram

Garden Tractor

Group 3-Oil Pan/Lubrication Assembly Parts Diagram

  • Title
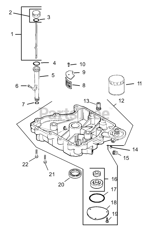
1

Toro 12 038 01-S

Dipstick (Incl 2-3)

Note: Obtain Part from Local Tecumseh Dealer.

$

$

Currently unavailable

2

Toro 25 755 13-S

Kit-Oil Cap (Incl 3)

Note: Obtain Part from Local Tecumseh Dealer.

$

$

Currently unavailable

3

Toro 25 153 02-S

O-RING

Note: Obtain Part from Local Tecumseh Dealer.

$

$

Currently unavailable

4

Toro 12 153 02-S

O-RING

Note: Obtain Part from Local Tecumseh Dealer.

$

$

Currently unavailable

5

Toro 12 123 04-S

OIL FILL TUBE KIT

Note: Obtain Part from Local Tecumseh Dealer.

$

$

Currently unavailable

6

Toro M-645025-S

SCREW-FLANGE, THREAD FORMING (M6X1.0X25)

Note: Obtain Part from Local Tecumseh Dealer.

$

$

Currently unavailable

7

Toro 12 153 01-S

O-RING

Note: Obtain Part from Local Tecumseh Dealer.

$

$

Currently unavailable

8

Toro 25 162 07-S

Screen-Pickup, Oil

Note: Obtain Part from Local Tecumseh Dealer.

$

$

Currently unavailable

9

Toro 12 096 03-S

Cover-Screen, Oil Pickup

Note: Obtain Part from Local Tecumseh Dealer.

$

$

Currently unavailable

10

Toro M-545016-S

SCREW-FLANGE, THREAD FORMING (M5X0.8X16)

Note: Obtain Part from Local Tecumseh Dealer.

$

$

Currently unavailable

11

Toro 12 050 01-S

See Supercession: 98020
(Superseded to 98020)

Note: Obtain Part from Local Tecumseh Dealer.

$25.99

$

In Stock, Qty 20+

0

12

Toro 12 199 50-S

Pan-Oil (incl. 12, 16-19)

Note: Obtain Part from Local Tecumseh Dealer.

$

$

Currently unavailable

13

Toro 25 462 09-S

Valve-Relief, Oil Pressure

Note: Obtain Part from Local Tecumseh Dealer.

$

$

Currently unavailable

14

Toro 25 139 52-S

Plug-Pipe (1/8in)

Note: Obtain Part from Local Tecumseh Dealer.

$

$

Currently unavailable

15

Toro 25 139 57-S

PLUG-PIPE, SQ HD (3/8)

Note: Obtain Part from Local Tecumseh Dealer.

$

$

Currently unavailable

16

Toro 12 393 01-S

Oil Pump ASM

Note: Obtain Part from Local Tecumseh Dealer.

$

$

Currently unavailable

17

Toro 12 153 06-S

O-Ring (Oil Pump Cover)

Note: Obtain Part from Local Tecumseh Dealer.

$

$

Currently unavailable

18

Toro 12 096 34-S

Cover-Pump, Oil

Note: Obtain Part from Local Tecumseh Dealer.

$

$

Currently unavailable

19

Toro M-545016-S

SCREW-FLANGE, THREAD FORMING (M5X0.8X16)

Note: Obtain Part from Local Tecumseh Dealer.

$

$

Currently unavailable

20

Toro 12 032 03-S

Seal-Oil

Note: Obtain Part from Local Tecumseh Dealer.

$

$

Currently unavailable

21

Toro 24 086 16-S

Screw-HF (M8x1.25x45)

Note: Obtain Part from Local Tecumseh Dealer.

$

$

Currently unavailable

22

Toro 24 086 17-S

SCREW-FLANGE (M8X1.25X45)

Note: Obtain Part from Local Tecumseh Dealer.

$

$

Currently unavailable