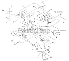
74231 (Z 257) - Toro 62" Z Master Zero-Turn Mower, Side-Discharge Deck (SN: 230006001 - 230999999) (2003) Parts & Diagrams Parts Lists & Diagrams

62" Z Master Zero-Turn Mower, Side-Discharge Deck