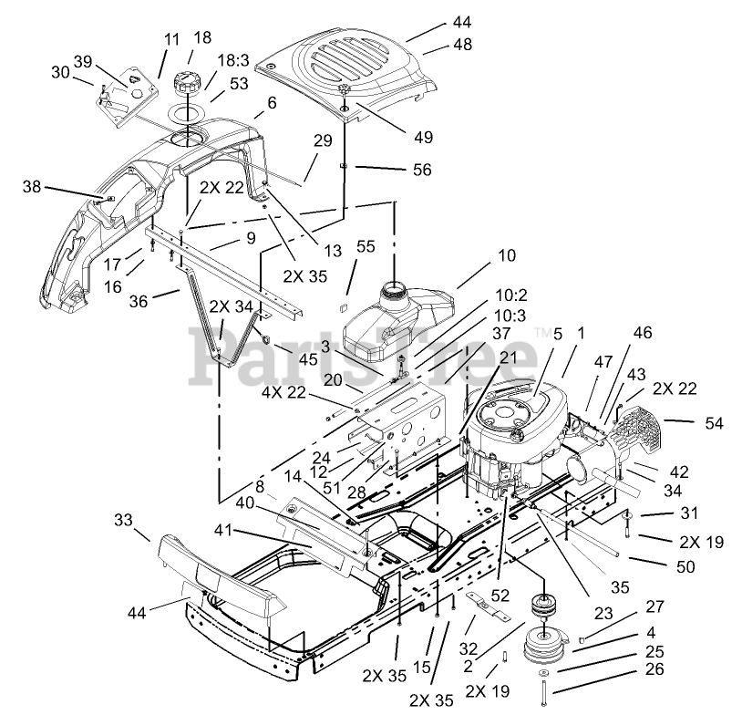
74402 (14-38 Z) - Toro 38" TimeCutter Zero-Turn Mower (SN: 230000001 - 230999999) (2003) Engine Assembly Parts Diagram

38" TimeCutter Zero-Turn Mower

Engine Assembly Parts Diagram

  • Title
1

Loose Parts Package

Note: Not serviced separately

$

$

Not available

2

Toro 105-3472

PULLEY-ENGINE

$328.99

$

Usually ships in 3-6 days

0

3

Toro 2412-98

CLAMP-HOSE

$1.99

$

In Stock, Qty 20+

0

4

Toro 104-3334

CLUTCH-ELECTRIC

$502.99

$

In Stock, only 2 left!

0

5

Toro 106-2187

DECAL-ENGINE, 14 HP

$

$

Not available

6

Toro 106-2161

COVER-SIDE, RH

$

$

Not available

7

Toro 106-2162

DISCONTINUED

Note: Not illustrated

$

$

Not available

8

Toro 106-2164-03

BRACKET-SUPPORT, FRONT

$

$

Not available

9

Toro 106-2165-03

See Supercession: 108-2313-03
(Superseded to 108-2313-03)

$

$

Not available

10

Toro 105-3464

GAS TANK ASM

$

$

Not available

10:2

Toro 46-6560

BUSHING

$6.49

$

In Stock, Qty 20+

0

10:3

Toro 104048

VALVE-FUEL

$40.99

$

In Stock, only 1 left!

0

11

Toro 106-2167-03

PANEL-CONTROL

$

$

Not available

12

Toro 105-3453-03

PLATE-SUPPORT

$

$

Not available

13

Toro 11-9030

SCREW-SHOULDER

$7.49

$

Usually ships in 3-6 days

0

14

Toro 3229-7

SCREW-CARR

$

$

Not available

15

Toro 3296-29

NUT-LOCK, NI

$2.49

$

In Stock, Qty 20+

0

16

Toro 46-8090

SCREW-PLASTITE

$

$

Not available

17

Toro 3256-22

WASHER-FLAT

$0.99

$

In Stock, Qty 16

0

18

Toro 88-3980

GAS CAP ASM

$36.99

$

In Stock, Qty 17

0

18:3

Toro 88-4010

GASKET-CAP, GAS

$38.99

$

In Stock, only 2 left!

0

19

Toro 322-7

SCREW-HH

$1.49

$

In Stock, Qty 9

0

20

Toro 106-8720

HOSE-FUEL

$

$

Not available

21

Toro 88-4490

REDUCER-THROTTLE, RPM

$20.99

$

Usually ships in 3-6 days

0

22

Toro 46-8560

SCREW-HHFTF

$2.49

$

In Stock, Qty 20+

0

23

Toro 92-6877

VALVE-DRAIN, OIL

$44.99

$

In Stock, only 3 left!

0

24

Toro 609830

SPRING

$5.99

$

In Stock, only 2 left!

0

25

Toro 112843

WASHER

$3.99

$

In Stock, Qty 6

0

26

Toro 3212-16

SCREW-HH

$20.99

$

In Stock, Qty 9

0

27

Toro 98-5023

BUMPER

$8.99

$

Usually ships in 3-6 days

0

28

Toro 322-4

SCREW-HH

$0.99

$

In Stock, Qty 20+

0

29

Toro 104-3626

CABLE-THROTTLE

$66.99

$

In Stock, only 2 left!

0

30

Toro 3258-166

SCREW-PRH

$0.99

$

In Stock, Qty 20+

0

31

Toro 62-7190

SPACER-STEEL

$5.49

$

Usually ships in 3-6 days

0

32

Toro 106-2156

PLATE-MOUNT, IDLER

$41.99

$

Usually ships in 3-6 days

0

33

Toro 105-6965

FOOTREST ASM

$

$

Not available

34

Toro 321-4

SCREW-HH

$1.49

$

In Stock, Qty 20+

0

35

Toro 3296-42

NUT-LOCK, NI

$0.99

$

In Stock, Qty 20+

0

36

Toro 106-6994-03

BRACE ASM

$

$

Not available

37

Toro 106-2193-03

See Supercession: 108-2314-03
(Superseded to 108-2314-03)

$

$

Not available

38

$2.99

$

In Stock, Qty 20+

0

39

Toro 106-2224

DECAL-CONTROL

$42.99

$

Usually ships in 3-6 days

0

40

Toro 106-6989

See Supercession: 107-2514
(Superseded to 107-2514)

$

$

Not available

41

Toro 106-6990

DECAL - 14-38Z

$

$

Not available

42

Toro 106-7007

MUFFLER

$506.99

$

In Stock, only 1 left!

0

43

Toro 3274-10

SCREW-HSH

$11.99

$

In Stock, only 4 left!

0

44

$9.49

$

In Stock, only 2 left!

0

45

Toro 105-1853

CLAMP-HOSE

$5.49

$

In Stock, only 2 left!

0

46

Toro 3253-4

WASHER-LOCK

$0.99

$

In Stock, Qty 10

0

47

Toro 88-4410

GASKET-EXHAUST

$20.99

$

In Stock, only 2 left!

0

48

Toro 106-2163

DISCONTINUED

$

$

Not available

49

$24.99

$

In Stock, only 3 left!

0

50

Toro 106-7022

TUBE-DRAIN, OIL

$10.99

$

In Stock, only 2 left!

0

51

Toro 237-124

GROMMET

$2.99

$

Usually ships in 3-6 days

0

52

Toro 32128-25

NUT-HF

$3.99

$

In Stock, Qty 5

0

53

Toro 106-7042

SEAL-RUBBER

$14.99

$

Usually ships in 3-6 days

0

54

Toro 106-7028-03

GUARD-MUFFLER

$

$

Not available

55

Toro 104-2488

FOAM-SWITCH, SEAT

$8.49

$

Usually ships in 3-6 days

0

56

Toro 106-8737

NUT-RETAINER
(Superseded to 32115-15)

$1.49

$

In Stock, Qty 20+

0