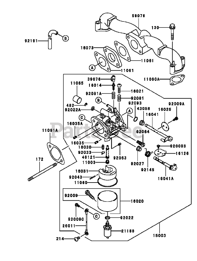
74405 (18-52 ZX) - Toro 52" TimeCutter Zero-Turn Mower (SN: 230000001 - 230999999) (2003) Carburetor Assembly Kawasaki FH531V-AS11 Parts Diagram

52" TimeCutter Zero-Turn Mower

Carburetor Assembly Kawasaki FH531V-AS11 Parts Diagram

  • Title
11003

Toro 11003-2105

Seat-Valve

Note: Obtain parts from your local Kawasaki dealer.

$

$

Currently unavailable

11060

Toro 11060-2406

Gasket, Chamber

Note: Obtain parts from your local Kawasaki dealer.

$

$

Currently unavailable

11060A

Toro 11060-7005

Gasket, Manifold

Note: Obtain parts from your local Kawasaki dealer.

$

$

Currently unavailable

11061

Toro 11061-7004

GASKET-INSULATOR

Note: Obtain parts from your local Kawasaki dealer.

$

$

Currently unavailable

11061A

Toro 11061-7018

GASKET-CLEANER, AIR

Note: Obtain parts from your local Kawasaki dealer.

$

$

Currently unavailable

11065

Toro 11065-2061

Cap

Note: Obtain parts from your local Kawasaki dealer.

$

$

Currently unavailable

15003

Toro 15003-7034

Carburetor ASM

Note: Obtain parts from your local Kawasaki dealer.

$

$

Currently unavailable

16014

Toro 16014-2080

Screw-Pilot Air

Note: Obtain parts from your local Kawasaki dealer.

$

$

Currently unavailable

16020

Toro 16020-2141

Chamber-Float

Note: Obtain parts from your local Kawasaki dealer.

$

$

Currently unavailable

16021

Toro 16021-2060

Screw-Throttlestop

Note: Obtain parts from your local Kawasaki dealer.

$

$

Currently unavailable

16025

Toro 16025-2195

Valve-Throttle, #130

Note: Obtain parts from your local Kawasaki dealer.

$

$

Currently unavailable

16030

Toro 16030-2067

Valve-Float

Note: Obtain parts from your local Kawasaki dealer.

$

$

Currently unavailable

16031

Toro 16031-2066

Float

Note: Obtain parts from your local Kawasaki dealer.

$

$

Currently unavailable

16035

Toro 16035-2051

Jet-Air #1.4

Note: Obtain parts from your local Kawasaki dealer.

$

$

Currently unavailable

16035A

Toro 16035-2077

Jet-Air, #0.8

Note: Obtain parts from your local Kawasaki dealer.

$

$

Currently unavailable

16041

Toro 16041-2253

Shaft-Carburetor, Throttle

Note: Obtain parts from your local Kawasaki dealer.

$

$

Currently unavailable

16041A

Toro 16041-7006

Shaft-Carburetor

Note: Obtain parts from your local Kawasaki dealer.

$

$

Currently unavailable

16073

Toro 16073-7007

Insulator

Note: Obtain parts from your local Kawasaki dealer.

$

$

Currently unavailable

16126

Toro 16126-7008

Valve

Note: Obtain parts from your local Kawasaki dealer.

$

$

Currently unavailable

21188

Toro 21188-2011

Solenoid

Note: Obtain parts from your local Kawasaki dealer.

$

$

Currently unavailable

26011

Toro 26011-2281

Wire-Lead

Note: Obtain parts from your local Kawasaki dealer.

$

$

Currently unavailable

39076

Toro 39076-2053

Limiter

Note: Obtain parts from your local Kawasaki dealer.

$

$

Currently unavailable

43058

Toro 43058-3716

Ring

Note: Obtain parts from your local Kawasaki dealer.

$

$

Currently unavailable

49121

Toro 49121-2227

Nozzle-Main #117A

Note: Obtain parts from your local Kawasaki dealer.

$

$

Currently unavailable

59076

Toro 59076-7001

See Supercession: 59076-7017
(Superseded to 59076-7017)

Note: Obtain parts from your local Kawasaki dealer.

$

$

Not available

92009

Toro 92009-2015

Screw

Note: Obtain parts from your local Kawasaki dealer.

$

$

Currently unavailable

92009A

Toro 92009-2024

Screw

Note: Obtain parts from your local Kawasaki dealer.

$

$

Currently unavailable

92009B

Toro 92009-2081

Screw

Note: Obtain parts from your local Kawasaki dealer.

$

$

Currently unavailable

92009C

Toro 92009-2400

Screw

Note: Obtain parts from your local Kawasaki dealer.

$

$

Currently unavailable

92022

Toro 92022-2231

Washer

Note: Obtain parts from your local Kawasaki dealer.

$

$

Currently unavailable

92022A

Toro 92022-2239

Washer

Note: Obtain parts from your local Kawasaki dealer.

$

$

Currently unavailable

92027

Toro 92027-2025

Collar

Note: Obtain parts from your local Kawasaki dealer.

$

$

Currently unavailable

92033

Toro 92033-2067

Ring-Snap

Note: Obtain parts from your local Kawasaki dealer.

$

$

Currently unavailable

92043

Toro 92043-2226

Pin

Note: Obtain parts from your local Kawasaki dealer.

$

$

Currently unavailable

92063

Toro 92063-2267

Jet-Main #116.3

Note: Obtain parts from your local Kawasaki dealer.

$

$

Currently unavailable

92064

Toro 92064-2103

Jet-Pilot #43.8

Note: Obtain parts from your local Kawasaki dealer.

$

$

Currently unavailable

92081

Toro 92081-2009

Spring

Note: Obtain parts from your local Kawasaki dealer.

$

$

Currently unavailable

92081A

Toro 92081-2256

Spring

Note: Obtain parts from your local Kawasaki dealer.

$

$

Currently unavailable

92093

Toro 92093-2002

Seal

Note: Obtain parts from your local Kawasaki dealer.

$

$

Currently unavailable

92145

Toro 92145-2061

Spring

Note: Obtain parts from your local Kawasaki dealer.

$

$

Currently unavailable

92191

Toro 92191-7016

Tube

Note: Obtain parts from your local Kawasaki dealer.

$

$

Currently unavailable

130

Toro 130B0635

Bolt-Flanged (6X35)

Note: Obtain parts from your local Kawasaki dealer.

$

$

Currently unavailable

172

Toro 172G0685

Bolt-Stud

Note: Obtain parts from your local Kawasaki dealer.

$

$

Currently unavailable

214

Toro 214B0510

SCREW-PAN (5X10)

Note: Obtain parts from your local Kawasaki dealer.

$

$

Currently unavailable

482

Toro 482L4000

Circlip-Type-E

Note: Obtain parts from your local Kawasaki dealer.

$

$

Currently unavailable