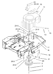
74701 (17-52 ZX) - Toro 52" TimeCutter Zero-Turn Mower (SN: 230000001 - 230999999) (2003) Parts & Diagrams Parts Lists & Diagrams

52" TimeCutter Zero-Turn Mower