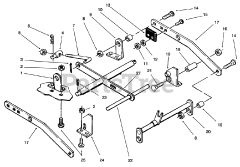
78352 - Toro 42" Rear-Discharge Mower Deck for Low Cut Mower (SN: 079000001 - 079999999) (1997) Parts & Diagrams Parts Lists & Diagrams

42" Rear-Discharge Mower Deck for Low Cut Mower

78352 - Toro 42" Rear-Discharge Mower Deck for Low Cut Mower (SN: 079000001 - 079999999) (1997) > Parts Diagrams (6)