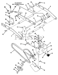
78390 - Toro 60" Side-Discharge Mower Deck (SN: 039000001 - 039999999) (1993) Parts & Diagrams Parts Lists & Diagrams

60" Side-Discharge Mower Deck

78390 - Toro 60" Side-Discharge Mower Deck (SN: 039000001 - 039999999) (1993) > Parts Diagrams (3)