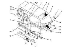
79201 - Toro 42"/48" Easy Twin Vacuum Bagger (SN: 039000001 - 039999999) (1993) Parts & Diagrams Parts Lists & Diagrams

42"/48" Easy Twin Vacuum Bagger