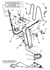
8245 (84369) - Snapper 24" Snow Thrower, 8hp Parts & Diagrams Parts Lists & Diagrams

24" Snow Thrower, 8hp