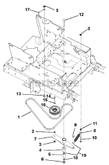
991089 (Compact-Pro 44) - Gravely Compact-Pro 44" Zero-Turn Mower (SN: 000101 - 019999) Parts & Diagrams Parts Lists & Diagrams

Compact-Pro 44" Zero-Turn Mower