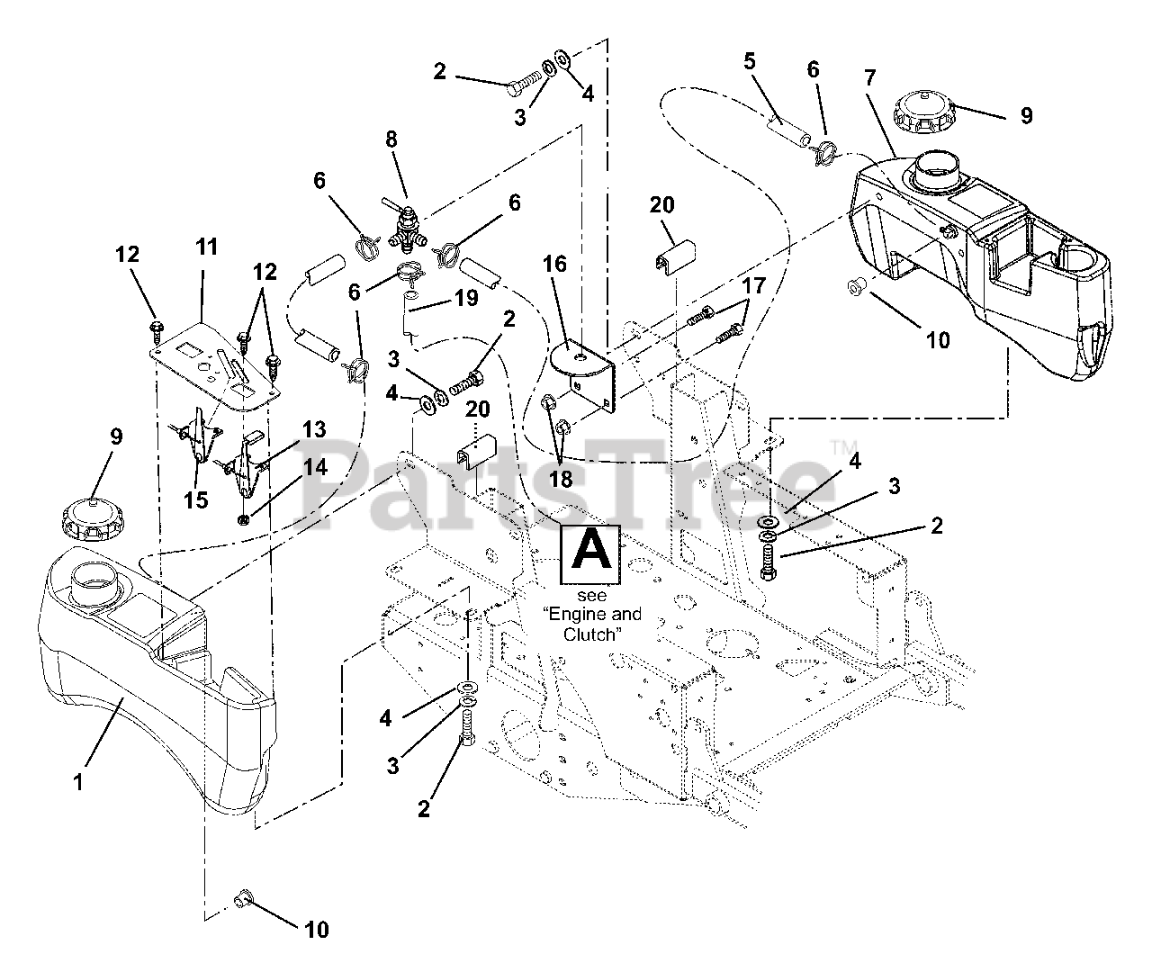
992320 (PM 34 Z) - Ariens Pro-Master 34" Zero-Turn Mower, 15hp Kawasaki (SN: 001000 - 004999) Fuel Tanks And Hoses Parts Diagram

Pro-Master 34" Zero-Turn Mower, 15hp Kawasaki

Fuel Tanks And Hoses Parts Diagram

  • Title
1

Ariens 09298200

TANK, FUEL RH W/O HOSE

$

$

Not available

2

Ariens 05947000

@BLT-HEX .31-18X.75 GR5 YWZC
(Superseded to 05901704)

$1.99

$

In Stock, Qty 20+

0

3

Ariens 06308600

@WSHR-LK .31X.078 REG YWZC
(Superseded to 06300119)

$1.49

$

In Stock, Qty 18

0

4

Ariens 06435700

@WSHR-FL-STL.38X.875X.083 YWZC
(Superseded to 06401023)

$1.99

$

In Stock, Qty 20+

0

5

Ariens 00365900

HOSE, 5.75"-1/4" ID GAS LINE

$6.49

$

Usually ships in 4-12 days

0

6

Ariens 06939100

CLAMP-HOSE WIRE .490/.510X.116

$3.99

$

In Stock, only 2 left!

0

7

Ariens 00262700

TANK, LH FUEL CZ W/O HOSE

Note: (EYE-Q)

$

$

Not available

8

Ariens 09258200

VALVE, FUEL

$48.99

$

In Stock, only 3 left!

0

9

Ariens 00273700

CAP - FUEL
(Superseded to 03859100)

$29.99

$

In Stock, only 3 left!

0

10

Ariens 07511400

BSHG-FLG .375 X 1.062 X .625 R

$3.99

$

In Stock, Qty 11

0

11

Ariens 00257351

PANEL, CONTROL

$27.99

$

Usually ships in 4-12 days

0

12

Ariens 06116700

@SCR-MCH 10-24X.50 HWH YWZC
(Superseded to 05901825)

$0.99

$

In Stock, Qty 20+

0

13

Ariens 06900002

CABLE, THROTTLE-CHOKE

$53.99

$

In Stock, only 2 left!

0

14

Ariens 06536000

@NUT-LK-NYL 10-24 W/INSRT YWZC
(Superseded to 06500915)

$0.99

$

In Stock, Qty 20+

0

15

Ariens 06949500

CABLE, CHOKE

$41.99

$

Usually ships in 4-12 days

0

16

Ariens 00361951

BRKT, FUEL VALVE MNTG

$7.49

$

Usually ships in 4-12 days

0

17

Ariens 06215700

@BLT-RDHDSQNK .31-18X.75 G5YZ
(Superseded to 06200232)

$2.99

$

In Stock, Qty 20+

0

18

Ariens 06543100

@NUT-LK-TOP-FLG .31-18 YWZC
(Superseded to 06500904)

$1.49

$

In Stock, Qty 20+

0

19

Ariens 00366000

HOSE, 29"-1/4"ID GAS LINE

$

$

Not available

20

Ariens 00918200

STRIP, COWL

$6.49

$

Usually ships in 4-12 days

0