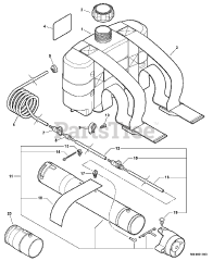
99944200300 - Echo Yard Shield Parts & Diagrams Parts Lists & Diagrams

Yard Shield

99944200300 - Echo Yard Shield > Parts Diagrams (1)