BF9.9 AM SAS (BABS) - Honda Outboard Engine, Made in Japan (SN: BABS-1200001 - BABS-9999999) RECOIL STARTER Parts Diagram

Outboard Engine, Made in Japan

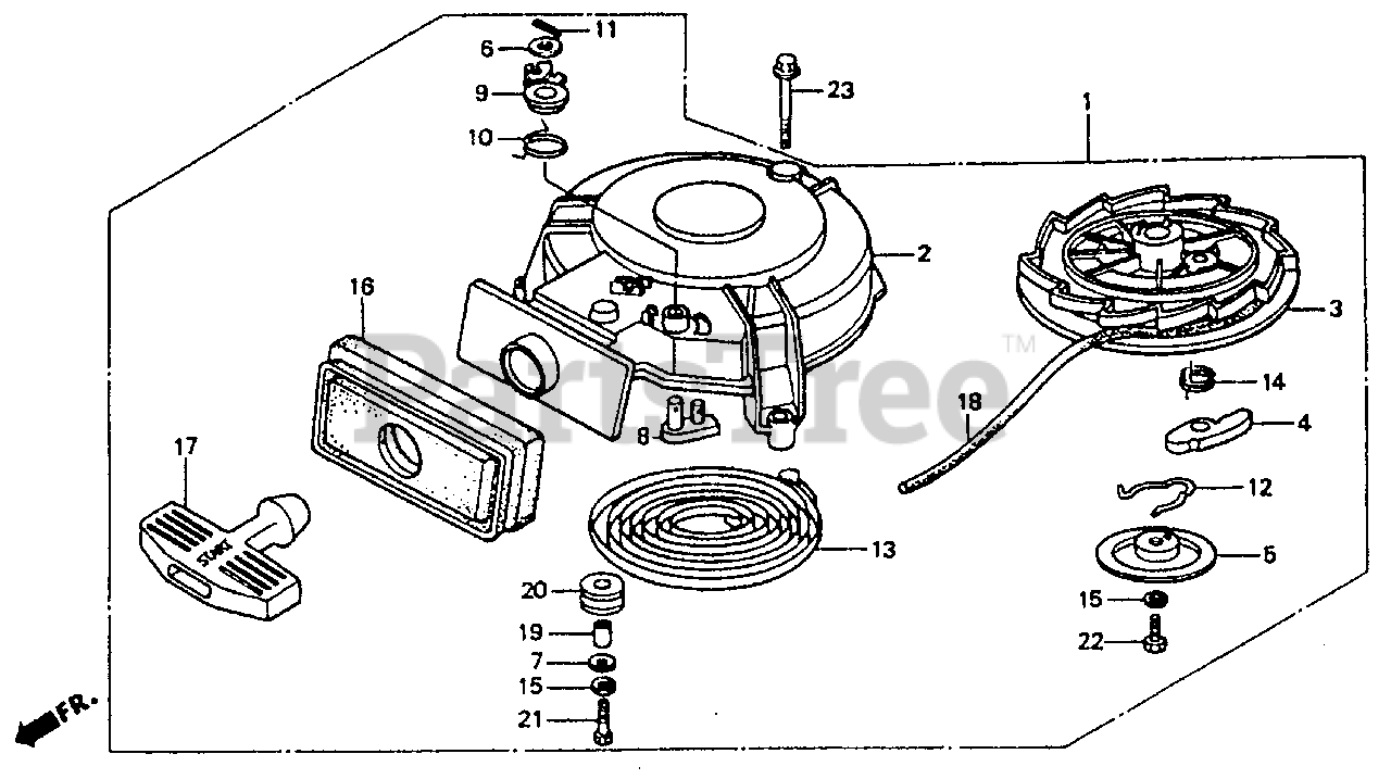
RECOIL STARTER Parts Diagram

  • Title
1

Honda 28400-ZV4-023

STARTER ASSY., RECOIL

$

$

Not available

2

Honda 28401-ZV4-003

CASE, RECOIL STARTER

$

$

Not available

3

Honda 28421-ZV4-003

REEL, RECOIL STARTER

$

$

Not available

4

Honda 28422-ZV4-003

RATCHET, STARTER

$

$

Not available

5

Honda 28431-ZV4-003

PLATE, FRICTION

$10.99

$

Usually ships in 3-6 days

0

$4.99

$

Usually ships in 3-6 days

0

7

Honda 28433-ZV4-003

WASHER, THRUST

$

$

Not available

8

Honda 28435-ZV4-003

STOPPER, REEL

$7.99

$

Usually ships in 3-6 days

0

9

Honda 28436-ZV4-003

ARM, STOPPER

$5.49

$

Usually ships in 3-6 days

0

10

Honda 28437-ZV4-003

SPRING, STOPPER

$3.49

$

Usually ships in 3-6 days

0

11

Honda 28438-ZV4-003

PIN, SPLIT

$3.49

$

Usually ships in 3-6 days

0

12

Honda 28441-ZV4-003

SPRING, FRICTION

$

$

Not available

13

Honda 28442-ZV4-003

SPRING, RECOIL STARTER

$

$

Not available

14

Honda 28443-ZV4-003

SPRING, RETURN

$

$

Not available

15

Honda 28445-ZV4-003

WASHER, SPRING

$4.99

$

Usually ships in 3-6 days

0

16

Honda 28455-ZV4-000

SEAL, RECOIL

$

$

Not available

17

Honda 28461-ZV4-003

SEE PART DETAILS - SUP; KNOB, STARTER
(Superseded to 28461-ZV4-013)

$12.99

$

Usually ships in 3-6 days

0

18

Honda 28462-ZV4-003

SEE PART DETAILS - SUP; ROPE, RECOIL STARTER (#5X73") (N/A: USE P/N 08550-ZG921-11)

$

$

Currently unavailable

19

Honda 28476-ZV4-003

GUIDE, ROLLER

$

$

Not available

20

Honda 28478-ZV4-003

ROLLER, STARTER

$

$

Not available

21

Honda 90021-ZV4-003

BOLT, HEX. (6X25)

$3.99

$

Usually ships in 3-6 days

0

22

Honda 90022-ZV4-003

BOLT, HEX. (6X14)

$2.99

$

Usually ships in 3-6 days

0

23

Honda 95701-06030-02

BOLT, FLANGE (6X30)

$2.99

$

Usually ships in 3-6 days

0