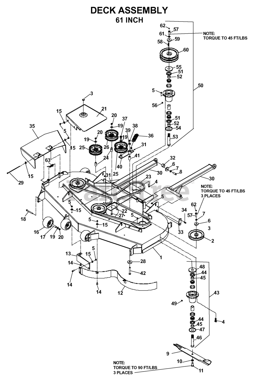
BZE 6127 D - Husqvarna 61" Zero-Turn Mower (SN: 033600000 & Above) (2004-01) 61"/155CM CUTTING DECK Parts Diagram

61" Zero-Turn Mower

61"/155CM CUTTING DECK Parts Diagram

  • Title
34

Husqvarna 539976934

HCS 5/16C X 3/4
(Superseded to 596030501)

$4.99

$

In Stock, Qty 20+

0

43

Husqvarna 539108763

SPINDLE
(Superseded to 966956101)

$159.99

$

In Stock, Qty 8

0

44

Husqvarna 539108754

SHAFT SEAL

$7.99

$

In Stock, only 4 left!

0

16

Husqvarna 539102643

ANTI-SCALP ROLLER

$

$

Not available

59

Husqvarna 539106504

SPINDLE WASHER

$

$

Not available

4

Husqvarna 539990209

HCS 5/16C X 1

$1.99

$

Usually ships in 3-10 days

0

38

Husqvarna 539101331

NUT 1/2-13 HEX NYLOC ZD
(Superseded to 596135601)

$4.99

$

In Stock, Qty 20+

0

53

Husqvarna 539108767

JACKSHAFT SPINDLE

$

$

Not available

32

Husqvarna 539106401

SPACER, STRUT

$

$

Not available

49

Husqvarna 539977326

PLUG-VENTED

$11.99

$

Usually ships in 3-10 days

0

55

Husqvarna 539108450

TOP DUST CAP

$5.99

$

In Stock, Qty 7

0

3

Husqvarna 539108382

PLUG, BUTTON HOLE

$

$

Not available

19

Husqvarna 539990517

WASHER 3/8 FLAT
(Superseded to 596433701)

$3.49

$

In Stock, Qty 20+

0

539108916

Husqvarna 539108916

LT 61 CE SHIELD ORANGE

$

$

Not available

37

Husqvarna 539990582

4CS 3/8C X 1 SERRATED HEAD
(Superseded to 596583101)

$4.99

$

In Stock, Qty 13

0

51

Husqvarna 539108754

SHAFT SEAL

$7.99

$

In Stock, only 4 left!

0

18

Husqvarna 539102754

HCS 3/8C X 3 1/2

$4.99

$

In Stock, Qty 9

0

62

Husqvarna 539976998

ZERK
(Superseded to 596899901)

$3.49

$

In Stock, Qty 20+

0

42

Husqvarna 539103433

HCS 1/2C X 3 1/4

$6.99

$

In Stock, only 2 left!

0

29

Husqvarna 539105827

HCS 5/16-18 X 8-1/2 GR 5 ZD

$

$

Not available

58

Husqvarna 539101995

KEY 1/4 SQ X 1 1/8

$

$

Not available

12

Husqvarna 539105465

MAIN BAFFLE - 61" BLK

$

$

Not available

10

Husqvarna 539990333

LOCKWASHER 5/8

$1.99

$

In Stock, only 4 left!

0

9

Husqvarna 539101733

BLADE OEM 21" (61" DECK)

$21.99

$

In Stock, Qty 20+

0

33

Husqvarna 539105480

PIN WELDMENT

$

$

Not available

27

Husqvarna 539990637

HCS 3/8C X 2 1/2

$4.99

$

In Stock, Qty 8

0

23

Husqvarna 539106340

BELT, DECK

$

$

Not available

25

Husqvarna 539103257

IDLER PULLEY

$56.99

$

In Stock, Qty 8

0

11

Husqvarna 539103299

HCS 5/8F X 1 1/4

$

$

Not available

7

Husqvarna 539990247

WASHER 7/16 LOCK
(Superseded to 596238901)

$3.49

$

In Stock, only 1 left!

0

40

$

$

Not available

2

Husqvarna 539107278

RP PULLEY - 61"
(Superseded to 539112125)

$43.99

$

In Stock, Qty 5

0

50

Husqvarna 539108768

JACKSHAFT ASSY LOWER
(Superseded to 539112263)

$

$

Not available

48

Husqvarna 539108450

TOP DUST CAP

$5.99

$

In Stock, Qty 7

0

5

Husqvarna 539990184

NUT 5/16C CENTERLOCK

$

$

Not available

6

Husqvarna 539106504

SPINDLE WASHER

$

$

Not available

8

Husqvarna 539100141

HCS 7/16F X 1 1/2

$

$

Not available

30

Husqvarna 539107751

STRUT WELDMT, L.H.

$

$

Not available

61

Husqvarna 539990247

WASHER 7/16 LOCK
(Superseded to 596238901)

$3.49

$

In Stock, only 1 left!

0

$

$

Not available

20

Husqvarna 539990546

NUT 3/8C CENTERBLOCK

$

$

Not available

24

Husqvarna 539103295

IDLER BUSHING

$17.99

$

In Stock, only 2 left!

0

47

Husqvarna 539108449

BOTTOM DUST CAP

$4.99

$

In Stock, Qty 5

0

54

Husqvarna 539108449

BOTTOM DUST CAP

$4.99

$

In Stock, Qty 5

0

39

Husqvarna 539990550

WASHER 1/2 FLAT

$

$

Not available

46

Husqvarna 539108760

52/61 SPINDLE - SPLINED SHAFT
(Superseded to 539112122)

$

$

Not available

63

Husqvarna 539105822

SPRING, TORTION

$

$

Not available

17

$

$

Not available

21

Husqvarna 539108914

RT 61 CE SHIELD ORANGE

$

$

Not available

41

Husqvarna 539103427

PIVOT BUSHING

$11.99

$

In Stock, Qty 7

0

28

Husqvarna 539102243

WASHER, SUPPORT
(Superseded to 596437501)

$11.99

$

In Stock, Qty 9

0

22

Husqvarna 539103303

SUPPORT PLATE
(Superseded to 539106504)

$

$

Not available

56

Husqvarna 539977326

PLUG-VENTED

$11.99

$

Usually ships in 3-10 days

0

60

Husqvarna 539106346

SHEAVE WSL

$

$

Not available

14

Husqvarna 539990799

CARRIAGE BOLT 5/16C X 5/8"
(Superseded to 596039401)

$2.49

$

In Stock, Qty 20+

0

15

Husqvarna 539990692

WASHER 5/16 FLAT
(Superseded to 819121414)

$3.49

$

In Stock, Qty 20+

0

26

Husqvarna 539103258

IDLER PULLEY (TALL)

$51.99

$

In Stock, only 2 left!

0

1

Husqvarna 539106217

DECK W/DECALS 61" HUS WSL

$

$

Not available

31

Husqvarna 539976998

ZERK
(Superseded to 596899901)

$3.49

$

In Stock, Qty 20+

0

36

Husqvarna 539105192

DECK SPRING

$

$

Not available

$

$

Not available

13

Husqvarna 539105461

CENTER BAFFLE - 61

$

$

Not available

57

Husqvarna 539101175

HCS 7/16C X 1 1/2
(Superseded to 594944601)

$3.49

$

In Stock, only 3 left!

0

35

Husqvarna 539106512

CHUTE 61 ORANGE

$

$

Not available