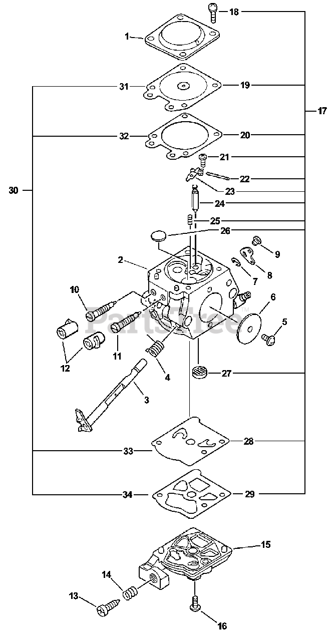
CS-3000 - Echo Chainsaw (Type 1E) (SN: 00001001 - 99999999) Carburetor Type 1 S/N: 056484_Up, Type 1E Parts Diagram

CS-3000 Technical Data: - External dimensions: 260 x 230 x 220 mm - Weight (saw only): 3.4 kg - Fuel tank: 250 ml; chain-oil tank: 150 ml (50 : 1 petrol/air) - Guide-bar lengths: 300 mm / 350 mm; chain pitch 9.53 mm, gauge 1.27 mm (Carlton N1C-BL Oregon 91VG) - Engine: 30.1 cc 2-cycle, 1.04 kW, 2 800 rpm, 0.61 kg/h fuel consumption - Sound pressure level: 96.8 dB(A) - Chain brake mean braking time: 0.05 s - Vibration: 4.3 m/s (front), 3.7 m/s (rear)

Carburetor Type 1 S/N: 056484_Up, Type 1E Parts Diagram

  • Title

Echo 12300139132

CARBURETOR - WT-402A
(Superseded to 12300139133)

$86.99

$

In Stock, Qty 20+

0

1

Echo 12314203930

COVER, METERING DIAPHRAGM

$4.99

$

In Stock, only 2 left!

0

2

BODY, CARBURETOR

Note: NOT AVAILABLE SEPARATELY

$

$

Not available

3

Echo 12311739630

SHAFT, THROTTLE

$8.99

$

Usually ships in 2-4 days

0

4

Echo 12311347530

SPRING, THROTTLE

$5.99

$

Usually ships in 2-4 days

0

$1.49

$

In Stock, Qty 6

0

6

Echo 12311605230

VALVE, THROTTLE

$2.49

$

Usually ships in 2-4 days

0

7

$0.99

$

In Stock, only 2 left!

0

8

Echo 12315039230

LEVER, THROTTLE

$7.49

$

Usually ships in 2-4 days

0

$1.49

$

In Stock, Qty 6

0

10

Echo 12312039230

NEEDLE, HIGH SPEED
(Superseded to Discontinued)

$

$

Not available

11

Echo 12311839230

NEEDLE, IDLE
(Superseded to Discontinued)

$

$

Not available

12

Echo 12315139230

CAP, LIMITER

$1.99

$

In Stock, Qty 20+

0

13

Echo 12313419730

SCREW, IDLE ADJUST

$2.99

$

In Stock, only 3 left!

0

14

Echo 12313311130

SPRING, IDLE ADJUST
(Superseded to Discontinued)

$

$

Not available

15

Echo 12312409320

COVER, FUEL PUMP

$6.49

$

Usually ships in 2-4 days

0

16

$0.99

$

Usually ships in 2-4 days

0

17

Echo 12310039130

REPAIR KIT, CARBURETOR

Note: INCLUDES ITEMS 18-29

$20.99

$

In Stock, only 2 left!

0

------------------

SCREW

$

$

Not available

19

DIAPHRAGM, METERING

$

$

Not available

20

GASKET, METERING

$

$

Not available

21

SCREW, METERING LEVER PIN

$

$

Not available

22

PIN, METERING LEVER

$

$

Not available

23

LEVER, METERING

$

$

Not available

24

VALVE, INLET NEEDLE

$

$

Not available

25

SPRING, METERING LEVER

$

$

Not available

26

PLUG, WELCH

$

$

Not available

27

STRAINER

$

$

Not available

28

DIAPHRAGM, PUMP

$

$

Not available

29

GASKET, PUMP

$

$

Not available

30

Echo 12310105960

GASKET / DIAPHRAGM KIT

Note: INCLUDES ITEMS 31-34

$

$

Not available

31

DIAPHRAGM, METERING

$

$

Not available

32

GASKET, METERING

$

$

Not available

33

DIAPHRAGM, PUMP

$

$

Not available

34

GASKET, PUMP

$

$

Not available