CS-302 S - Echo Chainsaw (SN: 30501 - 64670) Starter Parts Diagram

376 x 231 x 239 mm (14.8 x 9.1 x 9.4 in) | Air-cooled, 2-stroke, single-cylinder, 33.4 cc (2.0 cu in) engine | Counter-clockwise rotation from magneto side | Magneto: Champion CJ-8 or NGK BM-6A Walbro VWA-5B | Fuel: regular gasoline + 32:1 or 50:1 2-stroke oil | Fuel tank 0.334 L (11.8 fl oz) | Recoil starter | Automatic oiler, SAE 30 (summer) SAE 10 oil | Oil tank 0.20 L (6.8 fl oz) | Weight 4.5 kg (9.9 lb) dry | Guide bar 14 in (35 cm), gauge 0.050 in | Chain 91SG, 52 links, low-kick | Part no: echo Oregon 14g50k 32893, 16g50k 32894

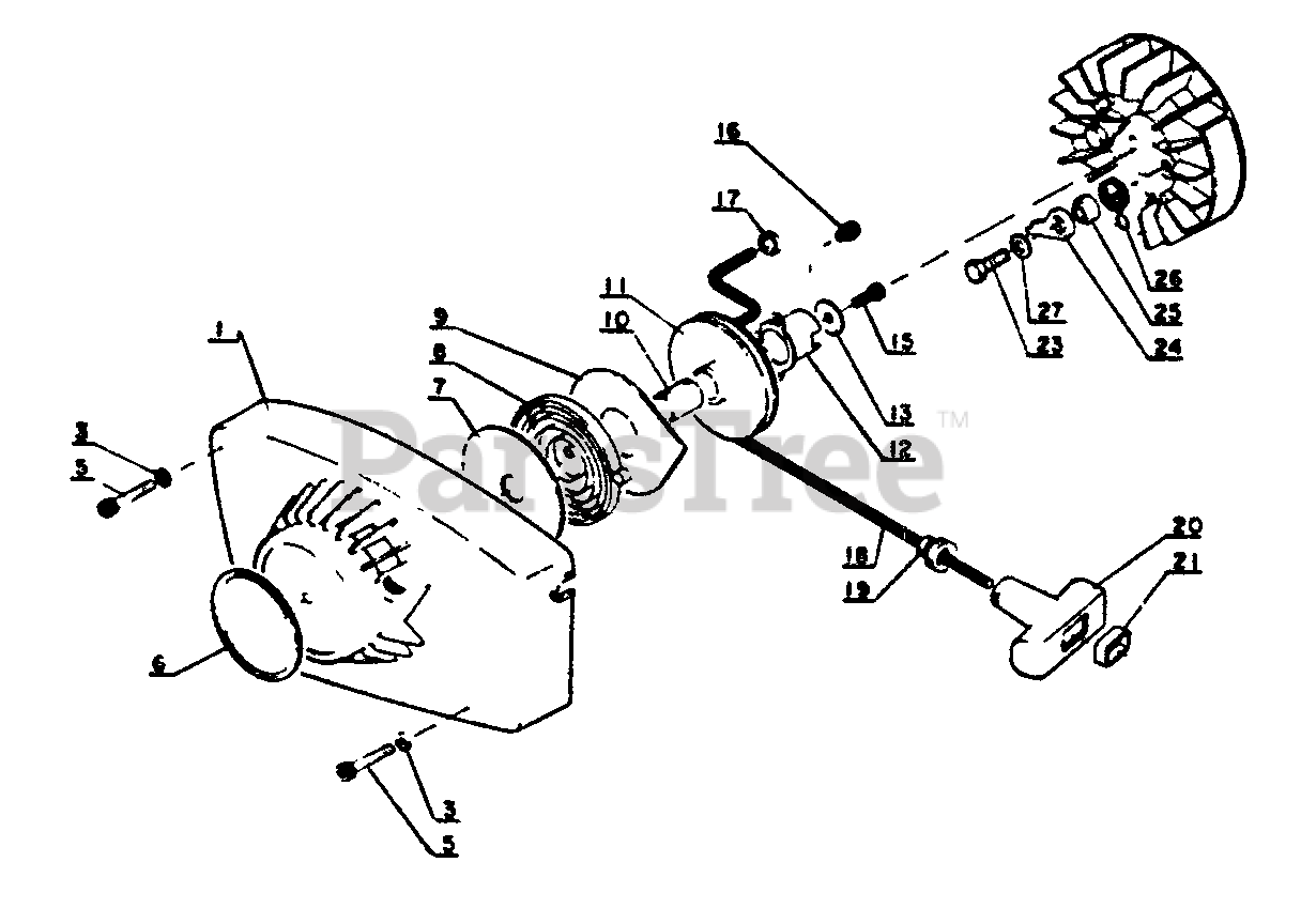
Starter Parts Diagram

  • Title

Echo 17720003930

STARTER ASSY, RECOIL
(Superseded to Discontinued)

$

$

Not available

1

Echo 10150703930

COVER, FAN
(Superseded to Discontinued)

$

$

Not available

7

Echo 17722103930

PLATE, SIDE
(Superseded to Discontinued)

$

$

Not available

8

Echo 177220-03930

SPRING, RECOIL

$21.99

$

In Stock, only 2 left!

0

9

Echo 17724203930

PLATE, SIDE

$

$

Not available

10

Echo 17721603930

BUSHING
(Superseded to Discontinued)

$

$

Not available

11

Echo 17721503930

REEL, ROPE
(Superseded to Discontinued)

$

$

Not available

12

Echo 17724303930

PAWL CATCHER
(Superseded to Discontinued)

$

$

Not available

13

Echo 17721403930

WASHER 4.2×16.5×1

$0.99

$

In Stock, Qty 11

0

15

Echo 90010504012

BOLT 4×12

$1.49

$

Usually ships in 2-4 days

0

16

Echo 90024144008

SCREW - 4×8

$

$

Currently unavailable

17

Echo 177246-03930

CLIP, STARTER ROPE

$0.99

$

In Stock, only 2 left!

0

18

Echo 177226-03930

ROPE, STARTER 3.5×850
(Superseded to 17722603930)

Note: RePower BULK OPTION: 99944445000

$6.99

$

In Stock, only 2 left!

0

19

Echo 17722700230

GUIDE, ROPE
(Superseded to 17722705330)

$

$

Not available

20

$30.99

$

In Stock, Qty 10

0

21

$1.49

$

In Stock, only 1 left!

0

3

Echo 90060000004

WASHER 4 MM

$0.99

$

In Stock, Qty 9

0

5

Echo 90010504030

BOLT 4×30

$1.49

$

In Stock, only 3 left!

0

6

Echo 89011217831

LABEL - ECHO
(Superseded to 89011817830)

$7.49

$

In Stock, only 4 left!

0

23

Echo 90010005016

BOLT - 5×16

$0.99

$

In Stock, only 1 left!

0

24

Echo 17721803930

PAWL, STARTER
(Superseded to Discontinued)

$

$

Not available

25

$2.49

$

Usually ships in 2-4 days

0

26

Echo 17723403931

SPRING
(Superseded to Discontinued)

$

$

Not available

27

Echo 900600-00005

WASHER, FLAT 5.5×10×0.8

$0.99

$

In Stock, Qty 20+

0