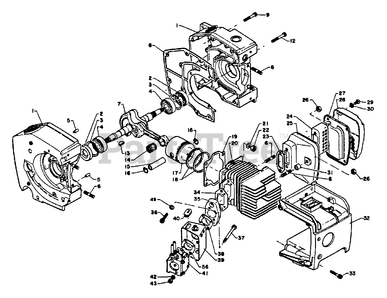
CS-702 VL - Echo Chainsaw Engines For Models CS-702VL and CS-602VL Parts Diagram

Engine: CS-702VL - air-cooled, 2-cycle, single-cylinder. Displacement: 70.7 cc (50 x 6 mm) = 4.3 cu in. Bore x stroke: 50 mm x 6 mm. Rotation: counter-clockwise (magneto side). Magneto: flywheel type. Ignition plug: NGK BM-6A. Diaphragm: Tillotson. Carburetor: Tillotson HS-166A. Fuel: 20:1 gasoline:oil. Cooling: forced air. Starting: recoil. Lubrication: manual/automatic oiler, chain oil. Clutch: automatic centrifugal. Fuel tank: 0.75 L (1.62 US pt). Oil tank: 0.3 L (0.75 US pt). Bar: 24 k50 / 60 m50. Chain: 3/8" pitch, 0.050" gauge. Weight: 7.5 kg (dry, bar/chain excluded).

Engines For Models CS-702VL and CS-602VL Parts Diagram

  • Title
1

Echo 10020010232

CRANKCASE KIT
(Superseded to 10020410231)

$

$

Not available

2

Echo 100213-02830

SEAL, OIL 18

$7.99

$

In Stock, only 1 left!

0

3

Echo 90070200035

RING, SNAP 35

$2.49

$

In Stock, Qty 8

0

4

Echo 90081006202

BEARING, BALL 6202

$11.99

$

In Stock, Qty 12

0

5

Echo 10021502830

PIN, LOCATING 5×10

$0.99

$

Usually ships in 2-4 days

0

$1.99

$

Usually ships in 2-4 days

0

7

Echo 10010010231

CRANKSHAFT ASSY
(Superseded to Discontinued)

$

$

Not available

8

Echo 10024210230

GASKET, CRANKCASE
(Superseded to Discontinued)

$

$

Not available

9

Echo 90016205030

BOLT 5×30

$1.49

$

In Stock, only 2 left!

0

12

Echo 90016205035

BOLT M5×35

$1.99

$

In Stock, Qty 14

0

13

Echo 90032203014

KEY, WOODRUFF - 3×14
(Superseded to 90032303014)

$1.99

$

In Stock, Qty 20+

0

14

Echo 10001202830

BEARING, NEEDLE
(Superseded to 10001202831)

$

$

Not available

15

Echo 10001303730

PIN, PISTON

Note: Model 702VL Only

$9.99

$

Usually ships in 2-4 days

0

15

Echo 10001302830

PIN, PISTON
(Superseded to Discontinued)

Note: Model 602VL Only

$

$

Not available

16

Echo 10001500230

RING, SNAP

$0.99

$

In Stock, only 2 left!

0

17

Echo 10001003730

PISTON
(Superseded to Discontinued)

Note: Model 702VL Only

$

$

Not available

17

Echo 10001002830

PISTON
(Superseded to Discontinued)

Note: Model 602VL Only

$

$

Not available

18

Echo 10001103730

RING, PISTON
(Superseded to Discontinued)

Note: Model 702VL Only

$

$

Not available

18

Echo 10001102830

RING, PISTON
(Superseded to Discontinued)

Note: Model 602VL Only

$

$

Not available

19

Echo 10101002831

GASKET, CYLINDER
(Superseded to Discontinued)

$

$

Not available

20

Echo 10101103733

CYLINDER
(Superseded to Discontinued)

Note: Model 702VL Only

$

$

Not available

20

Echo 10101102835

CYLINDER
(Superseded to Discontinued)

Note: Model 602VL Only

$

$

Not available

22

Echo 900500-00006

NUT, HEX M6

$0.99

$

In Stock, Qty 20+

0

21

Echo 90060000006

WASHER 6.5×11.5×0.8

$0.99

$

In Stock, Qty 20+

0

23

Echo 14551003730

GASKET, EXHAUST
(Superseded to 14551003731)

$

$

Not available

24

Echo 14561203730

BAFFLE, MUFFLER
(Superseded to Discontinued)

$

$

Not available

25

Echo 14560503731

MUFFLER
(Superseded to Discontinued)

$

$

Not available

26

Echo 145710-00230

LOCKNUT - 6
(Superseded to 90056000006)

$1.49

$

In Stock, Qty 20+

0

27

Echo 14561403730

PLATE
(Superseded to Discontinued)

$

$

Not available

28

Echo 14561303730

LID, MUFFLER
(Superseded to 14580803730)

$

$

Not available

29

Echo 90022005008

SCREW 5×8

$0.99

$

In Stock, Qty 6

0

30

Echo 90061000005

WASHER, LOCK 5 MM

$0.99

$

Usually ships in 2-4 days

0

31

$1.99

$

Usually ships in 2-4 days

0

32

Echo 10151410232

COVER, ENGINE
(Superseded to 10151410233)

$76.99

$

Usually ships in 2-4 days

0

33

Echo 90016205020

BOLT 5×20

$1.49

$

In Stock, Qty 20+

0

34

Echo 13001002831

GASKET, INTAKE
(Superseded to Discontinued)

$

$

Not available

35

Echo 13000503731

CASE, CARBURETOR
(Superseded to Discontinued)

Note: Model 702VL Only

$

$

Not available

35

Echo 13030602831

CASE, CARBURETOR
(Superseded to Discontinued)

Note: Model 602VL Only

$

$

Not available

$1.49

$

Usually ships in 2-4 days

0

37

Echo 13002102830

BOLT
(Superseded to Discontinued)

$

$

Not available

38

Echo 13001603730

GASKET, INTAKE
(Superseded to 13001603731)

$0.99

$

In Stock, Qty 20+

0

39

Echo 13030603730

CASE, CARBURETOR
(Superseded to Discontinued)

$

$

Not available

40

Echo 12901003730

GROMMET

Note: Model 702VL Only

$1.99

$

Usually ships in 2-4 days

0

40

Echo 12901002830

GROMMET
(Superseded to Discontinued)

Note: Model 602VL Only

$

$

Not available

41

Echo 12200010230

CARBURETOR - HS-166A
(Superseded to Discontinued)

Note: Model 702VL Only

$

$

Not available

41

Echo 12200002830

CARBURETOR
(Superseded to Discontinued)

Note: Model 602VL Only

$

$

Not available

42

Echo 178516-00830

WASHER 5.2×8×0.8T

$0.99

$

In Stock, Qty 20+

0

43

Echo 433020-00830

LOCKNUT - 5
(Superseded to 90056000005)

$1.49

$

In Stock, Qty 7

0

49

$0.99

$

Usually ships in 2-4 days

0

56

Echo 12214310230

GASKET
(Superseded to Discontinued)

$

$

Not available