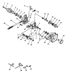
EDR-2100 - Echo Reversible Engine Drill (Type 1E) Parts & Diagrams Parts Lists & Diagrams

Reversible Engine Drill (Type 1E)

Attachments For This Model (1)