EX20KC - Exmark Explorer Zero-Turn Mower, 20hp Kohler (SN: 130000 - 149999) (1997) Parking Brakes Parts Diagram

Explorer Zero-Turn Mower, 20hp Kohler

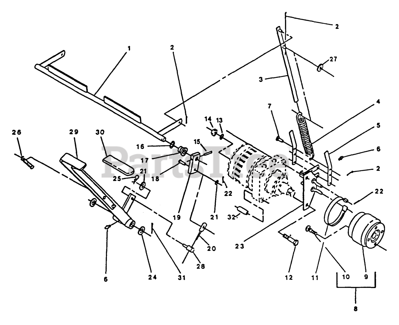
Parking Brakes Parts Diagram

  • Title
1

Exmark 1-512182-03

WLD,ROD LOCKOUT

$

$

Not available

2

Exmark 1-806753

3272-5
(Superseded to 3272-5)

$1.99

$

Usually ships in 3-6 days

0

3

Exmark 1-512349

DISCONTINUED

$

$

Not available

4

Exmark 1-513170

SPRING,EXTENSION

$30.99

$

In Stock, only 4 left!

0

5

Exmark 1-513364

LINK,BRAKE CONNECTING

$21.99

$

Usually ships in 3-6 days

0

6

Exmark 1-811006

302-19
(Superseded to 302-19)

$2.99

$

In Stock, Qty 20+

0

7

Exmark 1-808264

DISCONTINUED (EXMARK)

$

$

Not available

8

Exmark 1-512074

HUB/BRAKE DRUM ASSY

$

$

Not available

9

Exmark 1-513063

1-512074
(Superseded to 1-512074)

Note: Add anti-seize compound between hub and drive motor shaft.

$

$

Not available

10

Exmark 1-513025

BOLT,HUB

$

$

Not available

11

Exmark 1-513048

BAND,BRAKE

$

$

Not available

12

Exmark 1-800336

DISCONTINUED (EXMARK)

$

$

Not available

13

Exmark 1-805008

3253-7
(Superseded to 3253-7)

$1.49

$

In Stock, Qty 14

0

14

Exmark 1-804509

3217-9
(Superseded to 3217-9)

$0.99

$

In Stock, Qty 20+

0

15

Exmark 1-806325

DISCONTINUED (EXMARK)

$

$

Not available

16

Exmark 1-808505

32151-103
(Superseded to 32151-103)

$3.49

$

In Stock, Qty 20+

0

17

Exmark 1-513803

DISCONTINUED

$

$

Not available

18

Exmark 1-808280

PIN-CLEVIS

$2.99

$

Usually ships in 3-6 days

0

19

Exmark 1-513330

DISCONTINUED

$

$

Not available

20

Exmark 1-513778

DISCONTINUED

$

$

Not available

21

Exmark 1-805257

3256-23
(Superseded to 3256-23)

$2.49

$

In Stock, Qty 14

0

22

Exmark 1-806761

3272-10
(Superseded to 3272-10)

$1.49

$

In Stock, Qty 15

0

23

Exmark 1-522358

BRAKE BRKTW/ZERK LH

$

$

Not available

Exmark 1-522356

BRAKE BRKTW/ZERK RH

Note: Not illustrated

$

$

Not available

24

Exmark 1-805263

3256-26
(Superseded to 3256-26)

$0.99

$

In Stock, Qty 20+

0

25

Exmark 1-806003

PIN-COTTER

$1.99

$

In Stock, Qty 20+

0

26

Exmark 1-513468

SPRING,BRAKE HANDLE

$

$

Not available

27

Exmark 1-805256

3256-2
(Superseded to 3256-2)

$0.99

$

In Stock, Qty 17

0

28

Exmark 1-513815

DISCONTINUED

$

$

Not available

29

Exmark 1-512786

HANDLE & TRIGGER, BRAKE

$

$

Not available

30

Exmark 1-303020

GRIP-LEVER

$2.99

$

In Stock, only 2 left!

0

31

Exmark 1-806762

3272-11
(Superseded to 3272-11)

$1.49

$

In Stock, Qty 15

0

32

Exmark 1-523303

SPACER,MOTOR MOUNTING

$

$

Not available