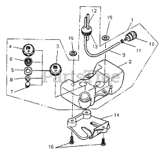
F 195 S - Shindaiwa String Trimmer Parts & Diagrams Parts Lists & Diagrams

String Trimmer