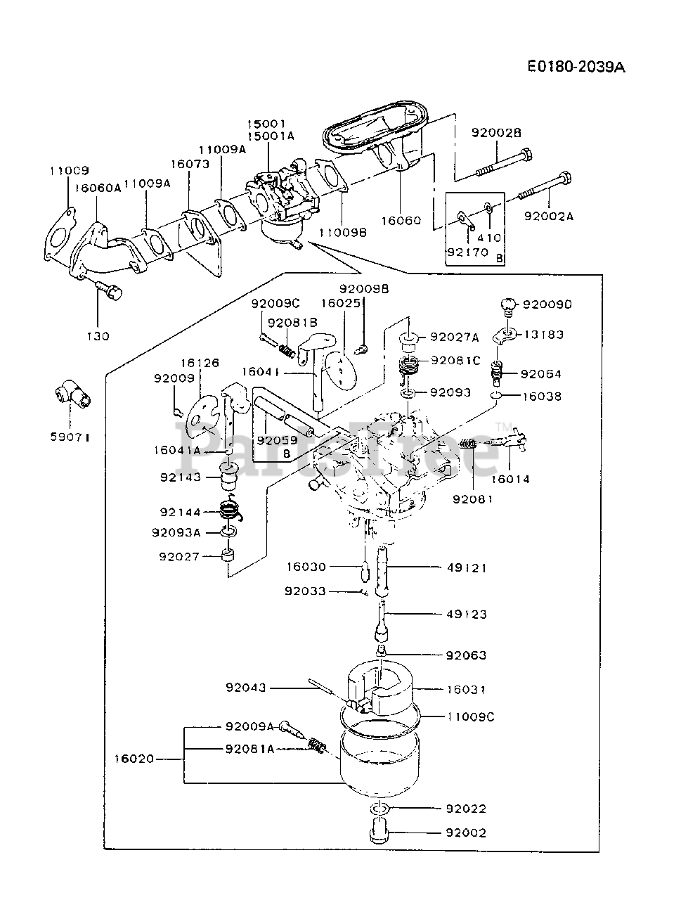
FB460V-AS17 - Kawasaki Engine CARBURETOR Parts Diagram

Engine

CARBURETOR Parts Diagram

  • Title
92081B

$

$

Not available

92081C

$10.99

$

Usually ships in 2-5 days

0

92093

$1.99

$

In Stock, Qty 6

0

92093A

$1.99

$

In Stock, Qty 6

0

92143

$

$

Not available

92144

$

$

Not available

130

Kawasaki 130G0825

BOLT-FLANGED
(Superseded to 130BA0825)

$5.99

$

In Stock, only 1 left!

0