FB460V-CS01 - Kawasaki Engine Air Filter Parts Diagram

Engine

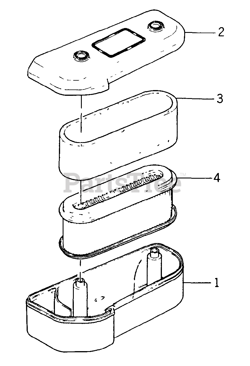
Air Filter Parts Diagram

  • Title

Kawasaki 11010-2256

AIR FILTER ASSY
(Superseded to 11010-2291)

$

$

Not available

1

Kawasaki 11011-2158

CASE, air filter
(Superseded to 11011-2174)

$

$

Not available

2

Kawasaki 11012-2192

CAP, air filter

$

$

Not available

3

Kawasaki 110132020

ELEMENT, air filter

$4.49

$

In Stock, Qty 13

0

4

Kawasaki 110132021

ELEMENT, air filter

$22.99

$

In Stock, Qty 12

0