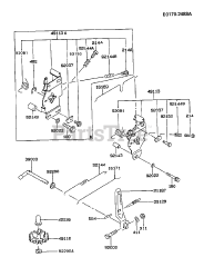
FC420V-BS14 - Kawasaki Engine Parts & Diagrams Parts Lists & Diagrams

Engine