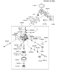
FS541V-BS55 - Kawasaki Engine Parts & Diagrams Parts Lists & Diagrams

Engine