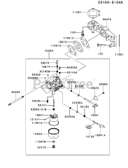
FX600V-BS15 - Kawasaki Engine Parts & Diagrams Parts Lists & Diagrams

Engine