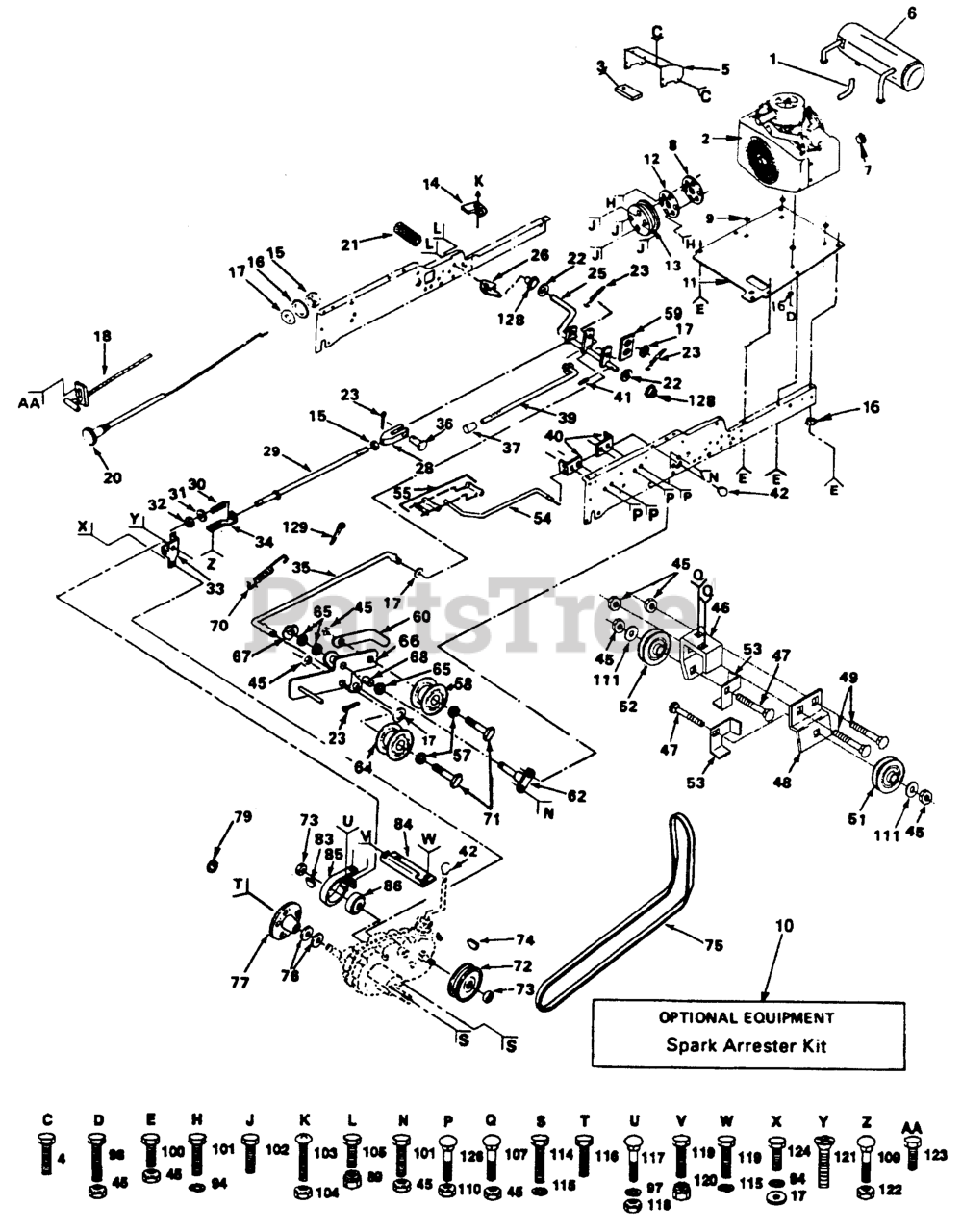
GT 180 (954000372-D) - Husqvarna Garden Tractor (1992-11) Ground Drive Parts Diagram

Garden Tractor

Ground Drive Parts Diagram

  • Title
1

Husqvarna 532126086

EXHAUST OUTLET

$

$

Not available

2

Husqvarna 532124276

Engine-18HP Kohler M18QS Type 24644

$

$

Currently unavailable

3

Husqvarna 532126350

DUCT, LOWER ASS'Y

$

$

Not available

4

Husqvarna 817720408

SCREW
(Superseded to 596437001)

$3.49

$

In Stock, only 3 left!

0

5

Husqvarna 532124508

DUCT,EXHAUST UPPE

$

$

Not available

6

Husqvarna 532124532

MUFFLER EXHAUST

$

$

Not available

7

Plug, Oil Drain

Note: (Order from engine manufacturer)

$

$

Not available

8

Husqvarna 532133692

Chaff Guard

$

$

Not available

$2.49

$

Usually ships in 3-10 days

0

10

Husqvarna 532132922

SPARK ARRESTER KIT
(Superseded to 532674380)

$

$

Not available

11

Husqvarna 532110867

BASE ENG. T

$

$

Not available

12

$

$

Not available

13

Husqvarna 532121355

PULLEY GROUND DRI

$

$

Not available

14

Husqvarna 532005304

ACT-SWITCH T
(Superseded to 532178575)

$

$

Not available

15

Husqvarna 873610600

NUT
(Superseded to 873800600)

$

$

Not available

16

Husqvarna 811050600

LOCKWASHER
(Superseded to 539990118)

$3.99

$

In Stock, Qty 20+

0

17

Husqvarna 819131316

WASHER
(Superseded to 596565301)

$3.49

$

In Stock, Qty 20+

0

18

Husqvarna 532132746

CONTROL, THROTTLE

$

$

Not available

20

Husqvarna 532132780

CONTROL, CHOKE

$

$

Not available

21

Husqvarna 532123533

COVER, PEDAL (1 2)

$

$

Not available

$2.49

$

In Stock, Qty 20+

0

23

Husqvarna 876020312

COTTER PIN
(Superseded to 596917601)

$3.49

$

Usually ships in 3-10 days

0

25

Husqvarna 532104375

SHAFT ASSY GT

$

$

Not available

26

Husqvarna 532104601

BRKT SWITCH GT

$

$

Not available

28

$

$

Not available

29

Husqvarna 532005308

BRAKE ROD T

$

$

Not available

30

$7.99

$

Usually ships in 3-10 days

0

31

Husqvarna 819131614

WASHER
(Superseded to 596140201)

$3.49

$

In Stock, only 2 left!

0

32

Husqvarna 873530600

GRIPCO NUT
(Superseded to 873610600)

$

$

Not available

33

Husqvarna 532124692

BRAKE BRKT ASSY T
(Superseded to 532677637)

$

$

Not available

34

Husqvarna 532124695

GUIDE ROD T
(Superseded to 532007229)

$

$

Not available

35

Husqvarna 532101356

ROD CLUTCH GTV

$

$

Not available

36

Husqvarna 532005102

CLEVIS PIN T

$

$

Not available

37

Husqvarna 532071673

PLUNGER CAP

$5.99

$

In Stock, only 2 left!

0

39

Husqvarna 532136284

ROD, PARKING BRAKE

$

$

Not available

40

Husqvarna 532105598

ROD BRACKET GT

$

$

Not available

41

Husqvarna 532005142

ROLL PIN STD

$

$

Not available

$

$

Not available

45

$

$

Not available

46

Husqvarna 532121063

PIVOT BRKT GT
(Superseded to 532139995)

$

$

Not available

$

$

Not available

48

Husqvarna 532122825

BRKT IDLER FLAT

$

$

Not available

49

Husqvarna 872140606

Bolt, Carriage 3/8-16 x 3/4

$

$

Not available

51

Husqvarna 532102403

IDLER-FLAT T

$45.99

$

In Stock, only 1 left!

0

52

Husqvarna 532101344

PULLEY V IDLR GTV

$56.99

$

Usually ships in 3-10 days

0

53

Husqvarna 532122824

GUARD BELT

$

$

Not available

54

Husqvarna 532122253

ROD SHIFT HI LO

$

$

Not available

55

Husqvarna 532122268

CONNECTING LINK

$

$

Not available

57

Husqvarna 819131413

Washer 13/32 x 7/8 x 13 Gauge

$

$

Not available

58

Husqvarna 532104360

IDLER-FLAT GT
(Superseded to 597025001)

$28.99

$

In Stock, Qty 20+

0

59

Husqvarna 532121358

RETAINER SPRING

$

$

Not available

60

Husqvarna 532121360

RETAINER BELT

$

$

Not available

62

Husqvarna 532101358

BRACKET ASSY GTV

$

$

Not available

64

Husqvarna 532121361

RP.IDLER GROOVED
(Superseded to 532139123)

$43.99

$

In Stock, only 4 left!

0

65

$

$

Not available

66

Husqvarna 532121356

BRACKET CLUTCH

Note: (Incl. Key No. 68)

$

$

Not available

67

$

$

Not available

68

Husqvarna 532105706

BEARING LT (2 2)

$6.99

$

In Stock, Qty 14

0

70

Husqvarna 532121357

SPRING EXT CLUTCH

$

$

Not available

71

Husqvarna 874760628

BOLT
(Superseded to 582740701)

$5.99

$

In Stock, only 1 left!

0

72

Husqvarna 532137524

TRANSAXLE PULLEY

$

$

Not available

73

$

$

Not available

74

Husqvarna 532124708

KEY
(Superseded to 532009858)

$

$

Not available

75

$56.99

$

Usually ships in 3-10 days

0

76

$7.49

$

In Stock, Qty 10

0

77

Husqvarna 532135758

BUSHING ASS'Y AND WHEEL HUB
(Superseded to 532634692)

$

$

Not available

79

Husqvarna 812000034

Klip, Ring

$

$

Not available

83

Husqvarna 532125096

KEY STD (1373) DANA

$7.99

$

Usually ships in 3-10 days

0

84

Husqvarna 532120404

BRKT SUPPORT GT
(Superseded to 532156404)

$

$

Not available

85

Husqvarna 532101122

BRAKE BAND ASM

$

$

Not available

86

Husqvarna 532000214

BRAKE DRUM T

$

$

Not available

89

Husqvarna 873680400

NUT.CROWNLOCK.1/4
(Superseded to 586668901)

$3.99

$

In Stock, Qty 20+

0

94

Husqvarna 810040600

WASHER, LOCK 3/8
(Superseded to 539990118)

$3.99

$

In Stock, Qty 20+

0

97

Husqvarna 810040400

LOCKWASHER
(Superseded to 596029801)

$3.49

$

Usually ships in 3-10 days

0

98

Husqvarna 874780624

BOLT
(Superseded to 874930624)

$9.49

$

In Stock, Qty 7

0

$3.49

$

In Stock, Qty 12

0

101

Husqvarna 874780616

BOLT
(Superseded to 596564401)

$4.99

$

In Stock, Qty 15

0

102

Husqvarna 817190516

Screw, Hex 5/16-18 x 1

$

$

Not available

103

Husqvarna 874321016

Screw, Fin #10-24 x 1

$

$

Not available

104

Husqvarna 873631000

LOCKNUT
(Superseded to 532069180)

$3.49

$

Usually ships in 3-10 days

0

105

Husqvarna 874760412

BOLT.HEX.1/4.X.3/4.DICHROMATE

$3.99

$

In Stock, Qty 6

0

107

Husqvarna 872140606

Bolt, Carriage 3/8-16 x 3/4 Grade 5

$

$

Not available

109

Husqvarna 872110506

BOLT.CARR.SQNK.5/16-18UNC.X3/4

$6.99

$

In Stock, Qty 11

0

110

Husqvarna 873680500

LOCKNUT
(Superseded to 873690500)

$

$

Not available

111

Husqvarna 819131612

WASHER GT
(Superseded to 596140201)

$3.49

$

In Stock, only 2 left!

0

114

Husqvarna 874760720

BOLT
(Superseded to 874780720)

$9.49

$

Usually ships in 3-10 days

0

115

Husqvarna 810040700

LOCKWASHER
(Superseded to 596238901)

$3.49

$

In Stock, only 1 left!

0

116

Husqvarna 532001304

BOLT M
(Superseded to 596218701)

$3.49

$

In Stock, Qty 20+

0

117

$3.99

$

In Stock, Qty 6

0

118

Husqvarna 873220400

NUT
(Superseded to 532050675)

$3.49

$

Usually ships in 3-10 days

0

119

Husqvarna 874760716

BOLT
(Superseded to 596238601)

$3.49

$

Usually ships in 3-10 days

0

120

Husqvarna 873680700

Nut, Crownlock 7/16-14

$

$

Not available

$

$

Not available

122

$

$

Not available

123

Husqvarna 817720410

SCREW LT
(Superseded to 596582501)

$3.49

$

Usually ships in 3-10 days

0

124

Husqvarna 874760614

BOLT
(Superseded to 596564401)

$4.99

$

In Stock, Qty 15

0

126

Husqvarna 872140506

RP BOLT 5/16-18 X3/4 ZN/YEL GR
(Superseded to 595901601)

$3.49

$

In Stock, Qty 20+

0

128

$

$

Not available

129

UNKNOWN

$

$

Not available