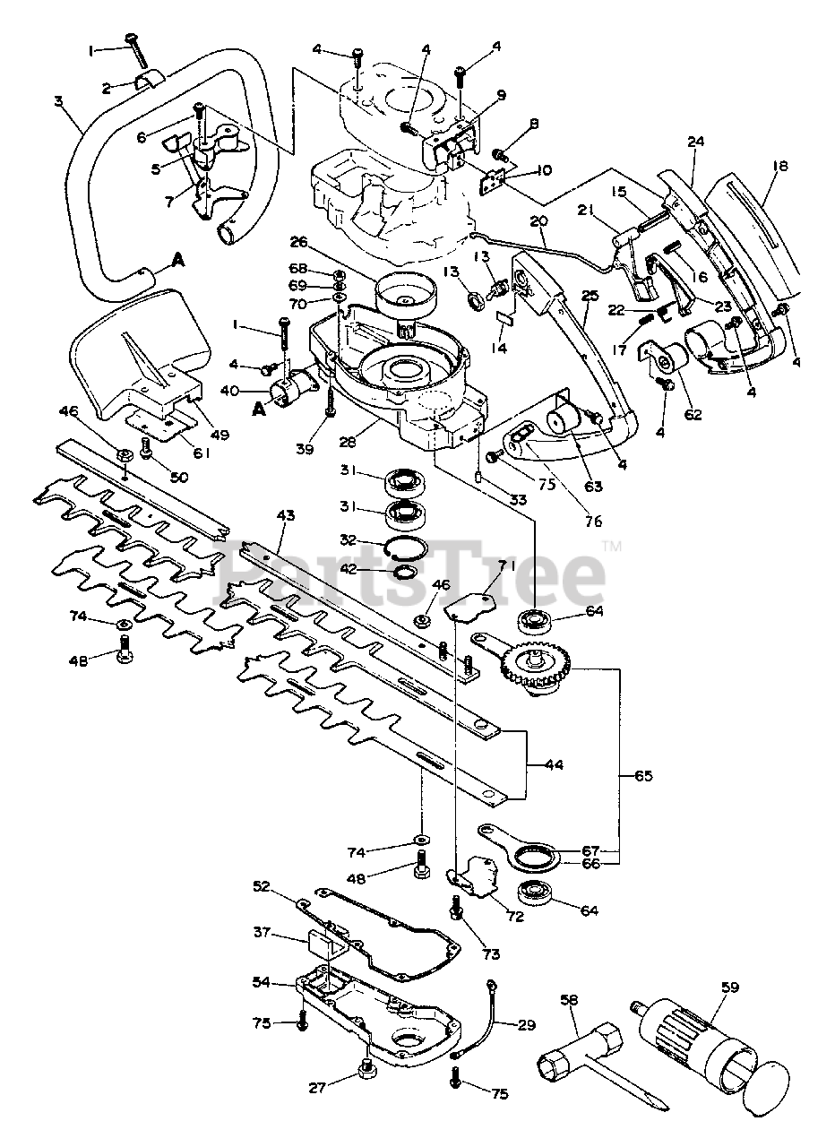
HC-160 A - Echo Hedge Trimmer Gear Case, Handles, Blades, Throttle, Tools Parts Diagram

Hedge Trimmer

Gear Case, Handles, Blades, Throttle, Tools Parts Diagram

  • Title
1

Echo 90024204030

SCREW 4×30

$0.99

$

In Stock, Qty 14

0

$3.99

$

Usually ships in 2-4 days

0

3

Echo 35161001360

HANDLE, FRONT
(Superseded to Discontinued)

$

$

Not available

4

Echo 90024204012

SCREW 4×12

$0.99

$

In Stock, Qty 20+

0

5

$17.99

$

Usually ships in 2-4 days

0

6

Echo 90024204008

SCREW 4×8

$0.99

$

In Stock, Qty 8

0

7

$17.99

$

Usually ships in 2-4 days

0

8

Echo 900242-04010

SCREW 4×10

$0.99

$

In Stock, Qty 20+

0

9

$15.99

$

Usually ships in 2-4 days

0

10

Echo 35112601360

PLATE
(Superseded to Discontinued)

$

$

Not available

13

Echo 16340002160

SWITCH, ON-OFF

$10.99

$

In Stock, Qty 14

0

14

Echo 89015711130

LABEL, ON-OFF

$0.99

$

In Stock, only 1 left!

0

15

Echo 90034050032

PIN, SPRING 5×32
(Superseded to Discontinued)

$

$

Not available

16

Echo 90034040016

PIN, SPRING 4×16
(Superseded to Discontinued)

$

$

Not available

17

Echo 90034030014

PIN, SPRING 3×14
(Superseded to Discontinued)

$

$

Not available

$

$

Not available

20

Echo 17801101360

ROD, THROTTLE
(Superseded to Discontinued)

$

$

Not available

21

Echo 17801001360

TRIGGER, THROTTLE
(Superseded to Discontinued)

$

$

Not available

22

Echo 17809101360

SPRING, TORSION

$2.49

$

Usually ships in 2-4 days

0

23

Echo 17809001360

LOCKOUT, THROTTLE

$3.49

$

Usually ships in 2-4 days

0

24

Echo 35111003060

HANDLE - REAR
(Superseded to Discontinued)

$

$

Not available

25

Echo 35112903060

HANDLE - REAR
(Superseded to Discontinued)

$

$

Not available

26

Echo 17500501261

DRUM, CLUTCH
(Superseded to 17500301261)

$98.99

$

Usually ships in 2-4 days

0

27

Echo 90010008008

BOLT 8×8 SP

$0.99

$

In Stock, Qty 10

0

28

Echo 61041003060

CASE, GEAR
(Superseded to Discontinued)

$

$

Not available

29

Echo 16201001360

LEAD - GROUND
(Superseded to Discontinued)

$

$

Not available

31

Echo 90080206003

BEARING, BALL 6003

$20.99

$

Usually ships in 2-4 days

0

32

Echo 90070200035

RING, SNAP 35

$2.49

$

In Stock, Qty 8

0

33

Echo V622000020

PIN, LOCATING 4

$0.99

$

In Stock, only 4 left!

0

37

Echo 81042601260

SEAL, FELT

$

$

Currently unavailable

39

Echo 90024204022

SCREW 4×22

$0.99

$

In Stock, Qty 8

0

40

Echo 35160701360

CUSHION
(Superseded to Discontinued)

$

$

Not available

42

Echo 90070100016

RING, RETAINING - 16

$1.49

$

Usually ships in 2-4 days

0

43

Echo 69911003060

BAR, FRAME

$138.99

$

Usually ships in 2-4 days

0

44

Echo 69700003060

TRIMMER BLADE SET
(Superseded to Discontinued)

Note: Blade set not available. Order as Seperate items. Upper Blade P/N 69701003060 & Lower Blade P/N 69701103060

$

$

Not available

46

Echo 145710-00230

LOCKNUT - 6
(Superseded to 90056000006)

$1.49

$

In Stock, Qty 20+

0

48

Echo 69911502062

BOLT 6×22

$5.99

$

Usually ships in 2-4 days

0

49

Echo 35180501360

GUARD
(Superseded to Discontinued)

$

$

Not available

50

Echo 900242-05012

SCREW 5×12

$0.99

$

In Stock, Qty 20+

0

52

Echo 61041401260

GASKET, GEAR CASE

$1.99

$

In Stock, Qty 11

0

54

Echo 61041102060

LID, GEAR CASE
(Superseded to 61041102061)

$

$

Not available

58

Echo 89541007930

T-WRENCH

$12.99

$

Usually ships in 2-4 days

0

59

Echo 88030001260

PUMP, GREASE
(Superseded to Discontinued)

$

$

Not available

61

$9.49

$

Usually ships in 2-4 days

0

62

Echo 35110710531

CUSHION
(Superseded to Discontinued)

$

$

Not available

63

Echo 35190710531

CUSHION
(Superseded to Discontinued)

$

$

Not available

64

Echo 90081006200

BEARING, BALL 6200

$12.99

$

Usually ships in 2-4 days

0

65

Echo 61030201260

GEAR ASSY
(Superseded to 61030201261)

$

$

Not available

66

Echo 61030701260

CONNECTING ROD ASSY
(Superseded to 61030701261)

$

$

Not available

67

Echo 61032701260

BEARING, NEEDLE
(Superseded to 61032701261)

$23.99

$

In Stock, Qty 7

0

68

Echo 900500-00005

NUT M5
(Superseded to 90050000005)

$0.99

$

In Stock, Qty 20+

0

69

Echo 90060500006

WASHER, SPRING 6

$0.99

$

In Stock, Qty 9

0

70

Echo 90060000006

WASHER 6.5×11.5×0.8

$0.99

$

In Stock, Qty 20+

0

71

Echo 61044001260

GUIDE
(Superseded to Discontinued)

$

$

Not available

72

Echo 61044102060

GUIDE
(Superseded to Discontinued)

$

$

Not available

73

Echo 90016205014

BOLT 5×14

$1.49

$

In Stock, Qty 7

0

74

$0.99

$

Usually ships in 2-4 days

0

75

Echo 900242-04014

SCREW 4×14

$0.99

$

In Stock, Qty 5

0

76

Echo 35113510530

SPACER
(Superseded to Discontinued)

$

$

Not available